Ленточная пилорама своими руками — инструкция, чертежи и видео
Если подсчитать, из каких составляющих складывается конечная стоимость пиломатериалов – цена древесины + обработка + перевозка до места назначения – то становится понятно, на чем можно сэкономить. Заготовки из древесины (доска, брус, рейки) – одни из самых используемых образцов в сфере строительства и ремонта.
Учитывая простоту работы с деревом, имеет смысл заниматься его «роспуском» непосредственно на участке. Достаточно лишь сделать пилораму. С типовыми чертежами, порядком изготовления своими руками ее ленточной модификации и некоторыми особенностями конструирования ознакомит эта статья.
Целесообразность такого решения станет еще очевиднее, если просмотреть на сайтах расценки на заводские пилорамы. В продаже они имеются, но вот стоимость установок такова, что приобрести какую-либо модель для использования в быту вряд ли большинство из нас захочет. В зависимости от серий (в рублях): «Кедр» – от 138 000 до 194 000, «Тайга» – от 116 890 до 172 400. И это еще сравнительно недорогие образцы. Дешевле только мини-станки (порядка 94 000), но вряд ли они удовлетворят все потребности хозяина частного дома в деревообработке.
Общие сведения об устройстве пилорамы ленточного типа
Модификаций оборудования данного типа существует несколько. Но если речь идет о сборке пилорамы своими руками, то выбор небольшой – вариант с фиксированным положением пилы и подвижной станиной (тележкой), на которой располагается заготовка. Именно она и перемещается в процессе деревообработки по специальным направляющим (рельсам). Все остальное – это усовершенствования, «сервисы», облегчающие труд персонала и обеспечивающие качество продукции. Например, мобильная пила.
Вот несколько несложных в изготовлении моделей самодельных ленточных пилорам.
Особенности конструирования
Габариты пилорамы определяются в зависимости от места ее расположения.
Что учесть при проектировании пилорамы
Конструкция установки такого типа хороша тем, что ее можно постоянно дорабатывать и совершенствовать, более точно «подгоняя» ее характеристики и возможности под растущие потребности хозяина. К примеру, если она первоначально планировалась для роспуска бревен на доски, то вполне возможно, что через некоторое время встанет вопрос об организации собственного производства бруса.
Она собирается по блочно-модульной схеме, и при отсутствии практического опыта в изготовлении сложных механизмов, целесообразно начинать с простейших вариантов. Ленточную пилораму с ручным управлением впоследствии нетрудно оснастит элементами автоматизации (регулирование толщины реза, подача пилы, программатор и тому подобное). Именно поэтому далее – общие инструкции по составлению чертежей ленточной пилорамы и сборке. Автор настоятельно рекомендует соблюдать последовательность и первую в своей жизни установку монтировать по упрощенной схеме.
Существует множество модификаций ленточных пилорам. Первый вопрос – в какой плоскости предполагается вести рез? Это определяет расположение рабочего инструмента. Второй – однотипная ли продукция будет изготавливаться или придется использовать пилораму как устройство универсальное? Например, не только для роспуска лесоматериала на доски, но и для обрезки бревен на отдельные сегменты. Все это учитывается заранее. Желательно, чтобы раму, на которой крепится рабочая пила, можно было переустанавливать.
Бревна, которые распускаются на ленточной пилораме, характеризуются значительным весом. В процессе работы ее станина подвергается еще и динамическим нагрузкам. Главное внимание – устойчивости лентопильного оборудования. Это и качество реза, и безопасность обслуживающего персонала.
Изготовить ленточную пилораму – это полдела. Ее грамотная эксплуатация требует определенных навыков в настройке. Основной «подводный камень» – разводка и заточка пилы. Следует детально изучить данный вопрос!
Подготовительные мероприятия
Выбор места
Если есть подходящее помещение, то следует учесть, что его полезная площадь не должна быть менее 18 «квадратов». Этого достаточно, чтобы распускать на ленточной пилораме даже габаритные бревна.
В частном секторе редко кто может выделить под установку пустующее строение или хотя бы отсек. Как правило, деревообработкой приходится заниматься на улице. Вряд ли летящим по ветру опилкам и мелкой стружке соседи по смежным участкам станут аплодировать. Да и собственная территория довольно быстро окажется замусоренной. Вывод – после сборки ленточной пилорамы сразу же придется заниматься возведением ограждения сплошного типа. Например, из листов поликарбоната или многослойной фанеры.
Кроме того, придется заранее определиться, где будет организовано складирование готового пиломатериала. Следовательно, рядом с пилорамой должен быть еще хотя бы небольшой, но свободный участок земли.
Вот из этого и следует исходить при выборе рабочего места под оборудование.
Выбор материалов и комплектующих
Двигатель. Как правило, используется один из двух типов – бензиновый или электрический. Главное, чтобы соответствовала мощность. С точки зрения практицизма (если у кого-то есть сомнения) асинхронный эл/двигатель намного лучше. Во-первых, проблема с подключением к домовой эл/сети из категории решаемых. Во-вторых, такой механизм ни в ТО, ни в частом ремонте не нуждается (в отличие от бензо/агрегата).
В-третьих, постоянство оборотов обеспечит высокое качество реза бревен на пилораме.
Материалы. Учитывая вес обрабатываемой древесины, везде только металлоизделия. Какие? Для подвижной части (тележки), на которую укладывается заготовка, подойдет и профилированная (толстостенная) труба квадратного или прямоугольного сечения. А вот опорную раму ленточной установки, учитывая совокупные нагрузки, следует монтировать из швеллера. Соответственно, рельсы для движения тележки – из габаритного уголка (не менее 45). Хотя можно использовать и тот же швеллер, только с меньшими линейными параметрами.Инструменты и оборудование
Здесь коротко – без сварочного аппарата не обойтись. Применительно к пилораме болтовые соединения практиковать не стоит. Со временем так или иначе, но они разболтаются, а заниматься ежедневным контролем состояния и подтяжкой – перспектива не самая лучшая.
Чертежи пилорамы
Ниже представлены чертежи простой ленточной пилорамы, которые вы сможете легко адаптировать под свои условия и потребности, соблюдая пропорции и принципы работы:
Особенности сборки ленточной пилорамы
Алгоритм действий довольно простой. Сложность – в изготовлении (с подгонкой по размерам) составных частей.
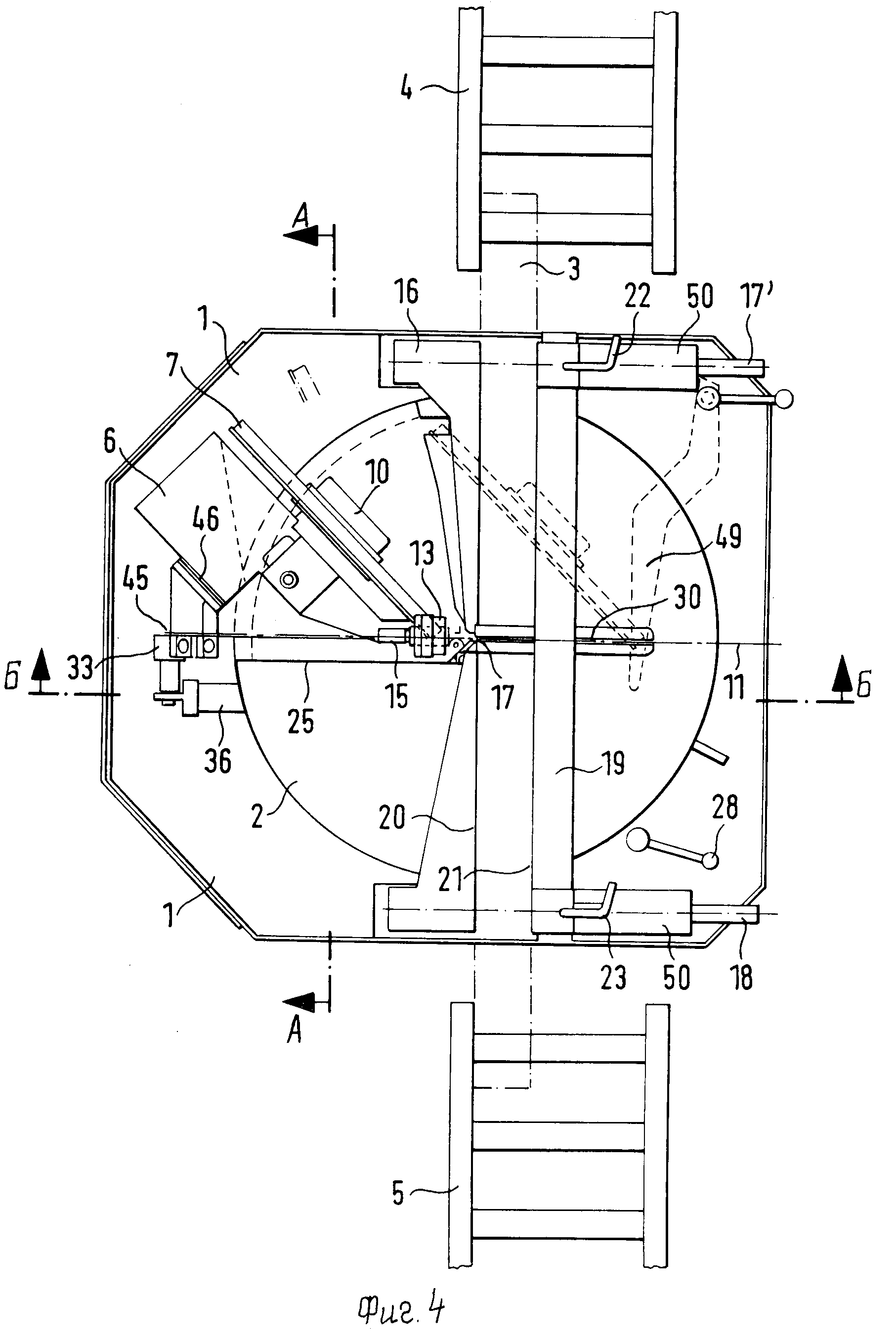
Опорная платформа
По ней будет перемещаться тележка с пиломатериалом. Плюс к этому, к рельсам крепится рама, на которой располагается рабочий инструмент. Главные требования – надежность такой опоры и выравнивание в горизонтальной плоскости. На чем ее крепить – специально оборудованном фундаменте (например, столбчатом) или на стойках, вкопанных в грунт – решается на месте.
Тележка
О ее назначении уже сказано. Чтобы в процессе распиловки бревно находилось в фиксированном положении, передвижную станину следует оснастить «струбциной», которая и будет надежно прижимать заготовку к раме и не давать ей возможности сместиться..jpg)
Рама для пилы
Сложность – в обеспечении возможности изменения положения режущего инструмента. Если не будет механизма регулирования, то вся продукция получится калиброванной (одного типоразмера, хотя тот же брус используется следующих размеров). Существует несколько инженерных решений, поэтому с данным вопросом придется разбираться отдельно. Приводить что-то конкретное бессмысленно, не зная, о какой модификации пилорамы идет речь.
Общий порядок изготовления и особенности работы в статье отмечены. Автор рекомендует сначала определиться, для каких именно целей предполагается собирать ленточную пилораму. И только потом искать оптимальный вариант. Можно просто скопировать имеющиеся в доступе чертежи, и своими руками собрать установку иных размеров, соблюдая масштабирование. Или взять конкретную схему за основу, доработав (видоизменив) ее под собственные запросы.
Удачи в конструировании ленточной пилорамы!
Ленточная пилорама своими руками чертежи
Уважаемые посетители сайта «Самоделкин друг« из представленного материала вы узнаете как можно самостоятельно сделать свою собственную ленточную пилораму. Каждый мастеровой человек мечтает иметь в своем хозяйстве свою собственную пилораму, потому как ее наличие в десятки раз уменьшит расходы на пиломатериал. При помощи данного станка можно самому распускать бревна на доски и бруски, так же отличный вариант и для тех кто строится, тоесть доски можно производить непосредственно на месте строительства будущего дома. А так же возможно открыть свою частную пилораму и распускать доски уже за деньги и пополнять семейную казну дополнительным заработком. Вообщем станочек очень хорош со всех сторон, да и самостоятельная его сборка опять же обойдется куда дешевле заводского аналога, потому как много запчастей можно использовать б/у и имеющихся в наличии у автолюбителя, к примеру : колеса от легкового автомобиля, ступицы, подшипники, болты и прочее что можно раздобыть в гараже)
Конструкция ленточной пилорамы представляет из себя 1.
рельсовую дорожку 2. станину с силовым агрегатом 3. полотно 4 механизмы регулировки и натяжения 5. каретка 6. ровная поверхность (желательно фундамент-плита)
И так, давайте ознакомимся с перечнем необходимых составляющих для сборки станка. А так же разберем весь процесс поэтапно.
Материалы
- уголок 100х100, швеллер, рельса от узкоколейки (для изготовления рельсового полотна)
- колеса от легкового автомобиля
- ступицы
- подшипники
- профтруба квадратного сечения
- шпилька с резьбой
- цепь
- домкрат
- капельница
- силовой агрегат (бензиновый или электродвигатель)
- арматура
- болты, гайки, шайбы, граверы
- листовой металл 1 мм
- шкив
- ремень
Инструменты
- сварочный аппарат
- дрель
- наждак
- болгарка
- молоток
- рулетка
- набор гаечных ключей
- уровень (лазерный)
- линейка
- уголок
Процесс сборки ленточной пилорамы своими руками.
И так, первым делом стоит ознакомится с чертежами, потому как любое дело начинается с разметки, как говорится «Семь раз отмерь, один раз отрежь. Так с чертежами ознакомились, а теперь хочется еще отметить то, что самодельные пилорамы бывают нескольких видов
1 Ленточная пилорама с электродвигателем. 2. Ленточная пилорама с бензиновым двигателем. 3 Шинная пилорама. Принцип работы ленточного станка для распиловки древесины. Полотно натягивается на 2 горизонтально расположенных шкива, в данном случае это обычные автомобильные колеса с покрышкой и камерой, неоспоримый плюс данной конструкции в том, что можно производить натяжение пильного подкачкой шин. Ограничитель и поддерживающие ролики располагаются непосредственно в нижней части. Чтож принцип работы надеюсь понятен, далее стоит позаботится о размещении рельсовой дороги по которой будет ходить каретка с пильным полотном и распускать бревна на доски.
Площадка должна быть размерами не менее 3 х 6 м, а самое главное ровной! Поэтому необходимо под пилораму залить плиту-фундамент и выровнять до идеально ровной поверхности. Копается углубление, укладывается песчаная подушка и заливается армированная плита из бетона. Далее идет установка самой рельсовой дороги, ее в лучшем случае можно сделать из рельс от узкоколейной железной дороги, но таковое трудно достать, так что придется делать из швеллера либо уголка. Обратите внимание!!! На фото уголок расположен ребром вверх. Соединять уголок между собой можно сваркой, но при нагреве металла его может повести, а нам нужна идеально ровная дорога, так же можно крепить рельс непосредственно к бетонному основанию при помощи анкерных болтов. Опорные ролики можно сделать из обычных подшипников, либо заказать у знакомого токаря. После чего изготавливается непосредственно сама пильная рама, где используются трубы разного диаметра которые можно вставить одна в другую. за счет чего ползун может подниматься вверх и вниз. Рама же сварена из профтрубы квадратного сечения. В нижней части устанавливают опорные ролики. они должны соответствовать ширине рельсовой дороги. Далее изготавливается механизм подъема. После чего устанавливаются шкивы и ступицы. Подключение к силовому агрегату. Выравнивание и поддержка пильного полотна осуществляется за счет подшипников. Сверху в обязательном порядке следует установить защитный кожух из металла. Техника безопасности здесь превыше всего, потому как полотно может и вылететь . Механизм натяжения можно сделать из небольшого домкрата. После полной сборки пилорамы проводится пробный запуск, если все в порядке, то отключается двигатель и укладывается и крепится бревно. Распускается бревно на доски. Так же можете посмотреть работу лесопилки наглядно на видео.
Вот такая замечательная пилорама вообщем то получилась, теперь распускай доски и бруски для строительства и ремонта сколько угодно, только успевай бревнышки подкидывай)
Большое спасибо за внимание!
чертежи для самоделки, особенности сборки мини-пилорам в домашних условиях, видео
Когда необходимо обработать большое количество досок и древесины, то лучше всего использовать пилораму, изготовленную своими руками.
Многие считают, что лучше всего приобрести готовый агрегат, но и сделать самостоятельно его не составит большого труда. Главное – это определиться с тем, каким будет объем предстоящей работы, а также с древесиной, после чего необходимо выбрать тип пилорамы для успешного выполнения поставленной задачи.
Собирая агрегат своими руками, особое внимание следует уделить вопросам безопасности, потому что такое устройство считается объектом повышенного риска. Изготовление различных видов пилорам представлено далее на видео.
Принцип работы пилорамы
Объяснить, как работает пилорама, можно на примере катушек с нитками. Такое устройство напоминает вращение двух катушек с натянутой между ними нитью. Именно она выступает в качестве пилы, а расстояние между катушками будет оптимальным размером бревна.Пилорама своими руками позволяет:
- подгонять бревна под одну форму и размер;
- распиливать бревна по конкретной схеме после того, как будет настроено оборудование;
- после распиловки часто образуются небольшие дефекты, устранить которые нельзя, поэтому дерево приходится обрабатывать вручную.
Работа пилорамы осуществляется следующим образом: на платформе закрепляют бревно, которое остается неподвижным, а в это время мобильная тележка приходит в движение и распиливает дерево. Пила должна находиться в горизонтальном положении.
Чтобы в результате получить доски необходимого размера, изначально оператор задает нужные параметры. Пильная лента выступает в качестве пилы, и она должна быть хорошо натянута.
Как изготовить пилорамы своими руками
Самыми распространенными видами пилорам считаются угловые, ленточные и цепные, а также устройства, собранные при помощи бензопилы.
Ленточная пилорама
Собрать пилораму ленточного типа своими руками в домашних условиях довольно сложно. Объясняется это тем, что трудно достичь максимальную слаженность всех ее составных элементов в процессе работы.
Кроме этого, потребуются необходимые комплектующие и специальные инструменты, но, главное, чтобы под рукой находились нужные чертежи. Работать готовая конструкция должна с материалом, вес которого составляет около трехсот килограмм. Помимо этого, необходимо отладить регулировку нарезной толщины и соблюдать технику безопасности.Сборка пилорамы своими руками осуществляется на площадке необходимого размера, которую следует подготовить заранее. Для устройства будут нужны специальные колеса и ленточные пилы. Затем, в соответствии с чертежами, собирают каркас будущего агрегата. Работа над каркасом начинается с изготовления специальных рельс. Для этого можно подобрать уголок и установить вверх одной из сторон. Затем устанавливают колеса, соблюдая предельную прочность.
Между двумя уголками, выставленными параллельно, делают шпалы из профильной трубы, которые призваны обеспечить их надежное скрепление друг с другом. К этой профильной трубе приваривают крепеж для бревен, свободно передвигающегося во всех направлениях. Затем, согласно чертежу, собирают тележку и крепят к ней колеса.
В завершение осуществляется монтаж электродвигателя, соединенного через специальный шкив с рабочим механизмом устройства.
Цепная пилорама
Принцип работы такой самоделки напоминает ленточную пилораму, с той лишь разницей, что в ней используется цепная пила. Конструкция такого устройства намного проще и имеет меньшие размеры, а это значит, что изготовить ее своими руками гораздо легче. Цепную пилораму устанавливают на ровной площадке таким образом, чтобы к ней удобно было подойти с любой стороны.Сборка цепного устройства начинается с того, что изготавливают каркас из металлического профиля. Собрав основную часть, проделывают несколько технологических отверстий, соблюдая при этом предельную точность. Количество отверстий зависит от длины шага. Затем начинают собирать стойки и устанавливают на них станину, после чего делают дополнительные ребра жесткости.
Таким образом получается основа цепной конструкции.
Кроме этого, необходимо для пилорамы собрать подвижную тележку своими руками. Для этого подготавливают основу и крепят к ней упор, прокладки, зажимные пластины и крепления под электродвигатель.
Затем тележку монтируют к каркасу, закрепляют двигатель с пилой, натягивают цепь и все, цепная пилорама своими руками готова.
Угловая или дисковая пилорама
Если есть необходимость в радикальном распиле досок, то лучше всего для этого использовать угловую или дисковую конструкцию.Угловая пилорама имеет очень много функций и используется для больших объемов работ. Такую конструкцию лучше всего изготавливать своими руками, потому что готовое оборудование стоит очень дорого. Чтобы собрать ее, следует воспользоваться соответствующими чертежами, а перед началом работ нужно приобрести все необходимые узлы и комплектующие.
Вначале собирается каркас из металлических труб и направляющие высокой прочности. Все стыки скрепляются сваркой. В качестве направляющих лучше всего использовать рельсы. Затем собирается каретка. Во время сборки особое внимание следует обращать на точность всех размеров, которые указаны в чертеже.
В угловую или дисковую пилораму устанавливают бензиновый двигатель большой мощности, что эффективно сказывается на процессе распилки древесины. Монтаж двигателя осуществляется на каркас конструкции и соединяется с рабочими элементами через специальные отверстия. Чаще всего на такие пилорамы устанавливают цепную передачу, но в некоторых случаях это приводит к перегреву самого привода. Во время сборки привода необходимо обратить должное внимание технике безопасности и исключить возможный риск в процессе его эксплуатации.
Пилорама из бензопилы
В бытовых условиях чаще всего не требуется такая большая пилорама, поэтому оптимальным решением в этом случае будет считаться мини-станок, который также можно изготовить своими руками.
Существует несколько видов мини-пилорам, они имеют небольшие размеры и в случае необходимости их легко переместить на другое место. Такое устройство изготавливается при помощи бензопилы, выступающей в качестве основного элемента.Чтобы изготовить мини-пилораму из бензопилы своими руками, потребуется:
- два швеллера;
- уголки;
- рельсы.
Для усиления каркаса монтируют несколько ребер жесткости. Затем осуществляют сборку подвижной тележки из стальной плиты. В нижней части этой плиты приваривают два уголка, после чего ее ставят на подшипники или ролики. К верхней части подвижной тележки приваривают два уголка, предназначенные под крепление бензопилы.
В завершение осуществляют монтаж специальной конструкции под крепление обрабатываемых бревен.
Пилорама своими руками видео.
Необходимые советы и рекомендации
Так как пилорама считается довольно опасным агрегатом внушительных размеров, то перед ее сборкой своими руками необходимо тщательно продумать, в каком месте она будет эксплуатироваться. Для этого хорошо подойдет:- сарай;
- гараж;
- обыкновенное подсобное помещение с бетонным основанием.
Такое место должно хорошо проветриваться, быть просторным и иметь достаточное освещение. Место для этого устройства можно найти и на улице, но для него обязательно оборудуют навес.
Если у пилорамы присутствует электрический двигатель, то нужно тщательно отнестись к монтажу проводки и установке необходимых переключателей и автоматов. Если рядом с местом работы находится склад для готовых досок, то это значительно облегчает весь процесс..jpg)
Собирая агрегат своими руками, особое внимание необходимо уделить его режущим и подвижным частям, которые считаются самыми опасными элементами. Вообще, следует соблюдать меры безопасности при эксплуатации устройства.
После сборки пилорамы и перед началом работ обязательно проверяют все крепления и составные узлы, а также устойчивость конструкции. Первый запуск устройства выполняется после соблюдения всех необходимых рекомендаций.
Таким образом, изготовить пилораму своими руками – дело несложное. Эти устройства бывают разных видов и процесс их сборки представлено на видео. Также обязательно следует воспользоваться чертежами, чтобы ни в чем не ошибиться. Эксплуатируя пилораму, необходимо соблюдают технику безопасности, потому что это довольно опасное устройство.
Оцените статью: Поделитесь с друзьями!Ленточная пилорама своими руками. Изготовление пилорамы в домашних условиях Пилорама своими руками описание чертежи схемы
Строительство дома из дерева или работа плотника требуют специального деревообрабатывающего инструмента. И речь идет не о пиле «дружба», а о самой настоящей ленточной пилораме. Конечно, можно закупать уже обработанные заготовки или приобрести промышленную пилораму, но цена на все это очень высокая. В данной статье мы поговорим о том, как изготавливается ленточная пилорама своими руками. Задача вполне посильная, но потребуются внимание и настойчивость.
Общие сведения
Дерево в качестве строительного материала используется испокон веков. Можно говорить о том, что даже в наше время многие отдают предпочтение деревянным домам в частном секторе, нежели бетонным. Обусловлено это многими причинами, но мы не об этом. Чтобы ускорить строительные работы, а также сократить расходы, были придуманы деревообрабатывающие станки. Пилорам же на сегодняшний день есть огромное количество, но все они выполняют обработку лесозаготовки, только методы отличаются.
Если у вас будет пилорама ленточная, своими руками изготовленная, то она может стать дополнительным источником заработка. Ведь вы с легкостью сможете браться за частные заказы, да и себе ни в чем отказывать не будете. Захотели баню или беседку? Нет проблем, берем заготовку, обрабатываем её и приступаем к строительству.
Почему именно ленточная?
Вы наверняка задаетесь данным вопросом. Как было отмечено несколько выше, в настоящее время есть огромный выбор, но мы остановимся именно на этом. Дело в том, что такое решение имеет огромное количество преимуществ. Во-первых, пилорама такого типа может работать с любыми породами деревьев, начиная от лиственных и заканчивая высокосмолистыми. Во-вторых, производимый сортамент достаточно обширный, это обрезные и не обрезные доски, брусья, шпон, лафет и многое другое.
Вы сможете создавать заготовки, из которых в дальнейшем будет изготовлена мебель, клееный брус, щиты и т. п. Да и в целом рабочий процесс на ленточной пилораме упрощен. Что самое главное, данный вид пиления предусматривает минимальные потери бревна на опилки, что является очень важным моментом. Если пилорама ленточная своими руками будет сделана правильно, то вы не увидите на обработанной заготовке волн и щетины.
Ленточная пилорама своими руками: чертежи и конструкция
Прежде чем приступить непосредственно к практической части, необходимо бегло ознакомиться с конструкцией и набросать несколько простеньких чертежей. Вообще, конструктивная схема выполнена таким образом, что вы можете наращивать компоновку оборудования. То есть в самом простом варианте вы получаете элементарную ленточную пилораму с ручной подачей заготовки, а в самом сложном — высокопроизводительное изделие, имеющее автоматику и датчики.
Основа пилорамы — рама с направляющими. Обычно её собирают сварными подошвами, где и размещают передвижные ролики. Станина во всех случаях П-образная и собирается посредством сварки двух швеллеров между собой. Соответственно, ведущий шкив закрепляется на одной стороне рамы в неподвижном состоянии, а второй — на другом конце в подвижном.
Направляющие же монтируются посередине рамы и представляют собой разборную конструкцию. Это очень актуально, если оборудование планируется транспортировать. В целом же ленточная пилорама своими руками, чертежи которой вы можете найти в данной статье, изготавливается не так быстро. Но такое оборудование имеет массу сильных сторон.
Самодельные ленточные пилорамы своими руками от А до Я
Можно говорить о том, что даже простейшая самодельная пилорама, при условии, что она правильно собрана, имеет уникальную конструкцию. Дело в том, что только подобный тип деревообрабатывающего станка полностью исключает повреждение станины в результате падения тяжелой заготовки. Достигается это за счет независимо подвешенных направляющих.
О чем вы должны позаботиться, так это о выборе режущего инструмента. В нашем случае используется ленточная пила, потому, собственно, оборудование так и называется. Её ширина может достигать 60 мм. Натягивается она посредством пружинно-винтового механизма, что очень удобно, так как это не занимает много времени. Пильная лента устанавливается и фиксируется двумя замками. Они должны быть крайне надежными, обратите на это внимание, если собираетесь изготавливать самодельные ленточные пилорамы. Своими руками такие замки делать не стоит, лучше купить.
Принцип действия устройства
Рабочий цикл выглядит примерно следующим образом:
- Подготовка заготовки. На этом этапе бревна обрезают и придают им одинаковую форму.
- Обработка заготовки. Оператор настраивает оборудование. Если есть автоматика, то выставляются необходимые параметры, все остальное делает пилорама.
- Заключительный этап. Данной стадии может не быть, что зависит от наличия погрешностей. Если таковые на обработанных бревнах обнаружились, то их устраняет оператор.
В общем и целом принцип действия устройства основан на том, что в процессе обработки заготовка находится в неподвижном состоянии и разрезается подвижной лентой. Она движется в горизонтальном направлении и установлена на ведущем и ведомых шкивах.
Для обеспечения прямолинейности реза крайне важно соблюдать натяжение ленты. Бревно же фиксируется между направляющими с помощью специальной опоры. Оборудование предусматривает наличие электронной линейки или гидравлики, что нужно для получения заготовки определенной толщины. Основные ручные работы: укладка бревна, переворот и его зажим.
Изготовление пилорамы
В качестве основы для нашей будущей пилорамы необходимо взять два швеллера. Они должны иметь длину по 8 метров и высоту порядка 14 сантиметров. Конечно, не всегда есть подходящий швеллер, поэтому вы можете пойти другим путем и использовать рельсы или уголки 50х100 мм. Основное требование заключается в том, чтобы основа была ровной и не имела изгибов. По всей длине швеллеров просверливается ряд отверстий. При этом нужно строго соблюдать заданный шаг. По сделанным отверстиям мы соорудим стяжки. Для этого подойдут отрезки трубы ¾ дюйма. Их длина должна быть порядка 25 сантиметров. Для соединения желательно использовать шпильки или болты 29-35 см.
Мини пилорама своими руками ленточная устанавливается на специальные стойки. Их желательно собирать, используя болты М12. В качестве материала могут быть использованы трубы, уголки или швеллера. Соответственно, чем длиннее станина агрегата, тем большее количество стоек нам понадобится. В нашем же случае достаточно 4-х штук.
Продолжаем сборочные работы
Теперь нам предстоит сделать подвижную тележку. Она состоит из металлической плиты толщиной 40-50 мм. В зависимости от габаритов двигателя подбирается её длина, оптимально 550-600 см. Что касается ширины, то тележка должна быть такой, чтобы швеллеры с каждой стороны выходили примерно на 70-80 мм.
Важные детали
В целом же изготовление ленточной пилорамы своими руками практически завершено. Осталось лишь несколько небольших деталей. Хотелось бы прежде всего сказать несколько слов о подвижной тележке. Дело в том, что для обеспечения перемещения по направляющим необходимо использовать пластины и прокладки.
При этом необходимо стараться сделать зазор как можно меньше. Толщина прокладок выбирается такой, чтобы она была на 0,5 мм больше полки швеллера. Крепить все это дело нужно с помощью 8-ми болтов М8.
Так как для перемещения тележки с двигателем используется цепь, то нужно обеспечить её достаточное натяжение. Это необходимо для исключения свободного хода штурвала. Он находится на одной из втулок около звездочек, которые стоят на краях направляющих.
Каждый должен знать
Есть еще такой вариант, как пилорама ленточная бензиновая. Своими руками её сделать еще проще. В этом случае в качестве мотора, приводящего режущий инструмент во вращение, будет выступать двигатель бензопилы, жестко закрепленный на станину. Функции ленты выполняет полотно бензиновой пилы. В целом же конструкция такой пилы предельно простая, но при этом достаточно функциональная.
Удобно работать с подобной техникой еще и из-за продуманного механизма крепления. Он состоит из труб с внутренним диаметром 35-40 мм в которые вставляются подвижные штанги. Сверху монтируются прижимы (из уголка 40х40) и кулачковые зажимы.
Заключение
Несложно догадаться, что основные элементы пилорамы — двигатель и пила. Маломощный мотор для серьезной станины не подойдет. Постарайтесь приобрести двигатель мощностью 10 кВт. Его будет вполне достаточно для вышеописанной конструкции. Что же касается пилы, то её диаметр должен быть порядка метра. В случае если вы испытываете затруднение с покупкой данных комплектующих, рекомендуется уменьшить размеры станины.
Вот мы с вами и поговорили о том, как сделать ленточную пилораму своими руками. Конечно, вовсе без затрат смастерить подобный агрегат не выйдет, но существенно сэкономить вы можете. В любом случае желательно руководствоваться обрабатываемыми заготовками. Чем больше они будут, тем массивней получится станина и в целом пилорама. В конце концов, вы можете воспользоваться самой простой конструкцией и использовать в качестве основы бензопилу.
Если все правильно собрать, то результат вас порадует. Теперь вы знаете, как собираетсяленточная пилорама своими руками, и можете воспользоваться этими знаниями.
Ленточная пилорама довольно часто используется в небольших хозяйствах, частных домах для обработки древесины, причем в немалом количестве. Это – простой и надежный инструмент (при грамотном подходе к его созданию), который обойдется куда дешевле, нежели покупной вариант. Чтобы самодельная деревообрабатывающая конструкция работала действительно эффективно, следует иметь представление о том, как правильно сделать ее своими руками. Далее детально об этом.
- Первым делом следует подготовить станину (неподвижная часть). Для ее создания подойдут два швеллера/рельсы). При использовании рельс необходимо устанавливать их таким образом, чтобы подошва оказалась вверху. Если используется швеллер, то его высота должна составлять не менее 14 см, а длина – около 8 м.
- По всей длине станины необходимо сделать отверстия с шагом около 1,5 м.
- Швеллеры стягиваются между собой при помощи труб длиной около 25 см. В качестве крепежа подойдут болты либо резьбовые шпильки.
- Следующим шагом идут стойки, на которые будет установлена готовая конструкция. Их количество напрямую зависит от длины и сложности конструкции. Так, на стандартную 8-метровую пилораму будет вполне достаточно 4 стоек.
- Чтобы добавить пилораме жесткости, в конструкцию добавляются раскосы.
- Последний этап – сбор мобильной тележки. Ее размеры напрямую зависят от ширины станины. Важно, чтобы тележка немного выступала за пределы станины с обеих ее сторон.
Чтобы повысить эффективность работы пилорамы ленточного типа, следует соблюдать несколько простых, но действенных правил:
- Конструкцию следует создавать с учетом будущей нагрузки а, значит, она должна быть устойчивой и достаточно крепкой.
- Поскольку пилорама в сборе очень массивна и отличается немалым весом, ее сборку следует осуществлять непосредственно в месте, где она будет использоваться по назначению.

- Имейте в виду, что самодельная пилорама «разбрасывает» стружку от древесины, поэтому для нее понадобится дополнительная конструкция либо же придется постоянно убирать мусор после рабочего процесса.
- Пилу перед началом эксплуатации пилорамы следует тщательно наточить, а зубья развести.
- Оптимальный двигатель для запуска пилорамы – бензиновый. Можно использовать бензопилу, а ее полотно подойдет в качестве ленты для будущей деревообрабатывающей конструкции.
- Для более эффективной работы инструмента по дереву следует использовать прокладки/пластины. Прокладки обязательно должны быть толще швеллера на 0,5 см.
Вот и все нюансы, которые следует учитывать для того, чтобы создать надежную и эффективно работающую ленточную пилораму. Будьте внимательны к деталям и аккуратны в работе. Удачи!
Как сделать ленточную пилораму: видео
У любого специалиста, которому приходится выполнять операции, связанные с обработкой древесины, должен быть специальный деревообрабатывающий инструмент. Это должно быть довольно функциональное оборудование, которым является ленточная пилорама. Можно, конечно, поискать и альтернативные пути, например, купить уже обработанные заготовки или приобрести промышленную пилораму.
Однако, любое из этих решений является довольно затратным. Наиболее экономичным представляется изготовление ленточной пилорамы своими руками. С этой задачей может справиться любой мастер, который имеет хотя бы минимальный опыт работы с инструментами. А для того чтобы всё получилось, нужно просто быть очень внимательным в процессе работы.
Ленточная пилорама дома
Дерево является наиболее популярным в строительстве материалом, который использовали ещё наши предки. И, надо заметить, что он по-прежнему остаётся востребованным. Находится много желающих построить дома именно из дерева, а не из бетона.
Даже неспециалисту понятно, что работа по строительству подобных объектов занимает много времени и является довольно затратной.
Именно для того, чтобы добиться экономии на этих операциях, и были придуманы деревообрабатывающие станки.
Хотя сегодня компании предлагают различные виды пилорам, каждая из них предназначена для решения одной задачи — обработки лесозаготовок . Но делает это каждая по-своему.
Если в вашем распоряжении будет ленточная пилорама, которую вы можете сделать своими руками, то вы можете не только заниматься обработкой древесины для личных целей, но и извлечь из этого дополнительный доход .
Вы можете договориться с заинтересованными лицами о производстве необходимого объёма продукции и легко справитесь с этой задачей. Вам по силам будет выполнить любой заказ вне зависимости, что это будет — беседка или баня. Всё, что вам для этого нужно сделать — взять заготовку и обработать её, после чего вы можете использовать её по назначению.
Этим вопросом задаются многие мастера, которые хорошо наслышаны о популярности ленточных пилорам. Ещё раз напомним, что сегодня подобные устройства представлены в большом количестве, но неслучайно именно ленточная пилорама пользуется наибольшей популярностью.
Объяснить сложившуюся ситуацию можно наличием у этого оборудования множества актуальных для мастеров преимуществ. Прежде всего, пилорама подобной конструкции может обрабатывать заготовки из любых пород древесины , в том числе лиственные и высокосмолистые.
Ещё одна особенность ленточной пилорамы заключается в том, что она может производить довольно широкий ассортимент изделий:
- Обрезные и не обрезные доски.
- Брусья.
- Шпон.
- Лафет и др.
При желании вы можете создавать заготовки для последующего их использования в изготовлении мебели, клеёного бруса, щитов и другой продукции. Имея в своей мастерской ленточную пилораму, вы намного упростите процесс обработки древесины.
Конструкция подобного типа многими ценится в том числе тем, что позволяет свести к минимуму потери бревна на опилки.
Поэтому, если вы сможете сделать ленточную пилораму своими руками с соблюдением всех правил, то можете быть уверены, что после обработки заготовок на них не появится неприятных волн или щетины.
Ленточная пилорама своими руками: чертежи и конструкция
Не стоит торопиться и сразу же переходить к практической части изготовления ленточной пилорамы своими руками. Прежде вам необходимо изучить конструкцию и составить простенький чертёж. Это нужно сделать и в том случае, если вы хотите изготовить дисковую или шинную пилораму.
Конструктивная схема этого оборудования является достаточно понятной и простой . Поэтому вы легко сможете добавить в неё необходимые вам компоненты для выполнения дополнительных операций, которые у вас будут возникать в процессе работы.
Иными словами, у вас есть возможность изготовить самый простой вариант пилорамы, предусматривающий возможность ручной подачи заготовки. Или же вы можете остановить выбор на более сложной версии, создав по индивидуальному чертежу высокопроизводительное устройство, оснащённое автоматикой и специальными датчиками , упрощающими работу по обработке заготовок.
Основным элементом пилорамы как дисковой, так и шинной, является рама с направляющими . Для её изготовления используются сварные подошвы, в которых размещаются передвижные ролики. При любом варианте ленточной пилорамы станина всегда получается П-образной, а изготавливается она путём сварки двух швеллеров между собой.
При этом ведущий шкив приваривают на одной стороне рамы в неподвижном состоянии, а второй крепится на другом конце в подвижном положении. Установка направляющих осуществляется строго по центру и сами они являются разборными.
Об этом обязательно нужно подумать в том случае, если вы собираетесь в будущем перевозить оборудование. В общем, изготовление этой ленточной конструкции своими руками — процесс довольно длительный по времени . Однако, если вам удастся всё сделать правильно, то вы получите очень полезного помощника в свою мастерскую.
Ленточная мини-пилорама своими руками
Какую бы версию самодельной пилорамы вы ни сделали, она в любом случае будет иметь уникальную конструкцию. Это объясняется тем, что при соблюдении правил её изготовления это оборудование не допустит повреждения станины в случае падения тяжёлой заготовки.
Такое возможно, из-за особой конструкции пилорамы, в которой направляющие подвешены и располагаются независимо друг от друга. С особой внимательностью вы должны подойти к выбору режущего инструмента.
В рассматриваемой ситуации это будет ленточная пилорама, что, впрочем, и так понятно, если вспомнить, какое именно оборудование мы собираемся изготавливать своими руками. Самодельная ленточная или дисковая пилорама может иметь ширину порядка 60 мм .
Для натяжения в конструкции предусмотрен специальный пружинно-винтовой механизм . Это довольно удобное решение, поскольку сама процедура натягивания не занимает много времени. После установки пильной ленты её необходимо закрепить посредством двух замков.
Эти запорные механизмы должны отличаться высокой надёжностью . Об этом нужно помнить каждому, кто собирается изготавливать ленточную конструкцию своими руками. Не стоит пытаться экономить на замках и делать их самостоятельно. Вы избежите многих неприятных ситуаций, если просто купите их в магазине.
Принцип действия устройства
Работу на ленточной пилораме можно описать в виде следующих последовательных действий:
Суть работы пилорамы заключается в следующем: вначале заготовка фиксируется в неподвижном состоянии, после чего приводится в действие подвижная лента , которая разрезает древесину.
Во время работы она перемещается строго горизонтально и закреплена на ведущем и ведомом шкивах. Чтобы рез получился прямым, необходимо постоянно контролировать натяжение ленты . Бревно, должно быть, закреплено между направляющими посредством специальной опоры.
В оснащении этого оборудования может присутствовать электронная линейка или гидравлика , которая помогает изготовить заготовки определённой толщины.
В процессе обработки древесины оператору приходится выполнять небольшое количество ручных операций — укладка бревна, переворот и его зажим.
Самодельная пилорама своими руками — видео
Потребность в наличии специального деревообрабатывающего оборудования испытывают не только мебельные производства, но и многие домашние мастера. Особенно если они собираются обрабатывать заготовки из древесины в больших количествах.
Для выполнения стоящих перед ними задач лучше всего подойдёт ленточная пилорама. Хотя при желании вы можете сделать дисковую или шинную пилораму своими руками. Конечно, лучше всего сделать пилораму сложной конструкции, у которой будет возможность установить дополнительные элементы , делающие её более функциональной.
Однако, если вам предстоит впервые заниматься этой работой, то лучше всего остановиться на простой версии ленточной пилорамы . Тогда у вас будет больше шансов, что вы сделаете всё правильно и ваша самодельная пилорама прослужит вам долго и на протяжении всего времени службы будет эффективно выполнять операции по обработке древесины.
Чтобы изготовить основу ленточной или дисковой пилорамы своими руками, нам понадобятся два швеллера . При этом они должны иметь определённые размерные характеристики:
- длина должна составлять восемь м;
- высота — 14 см.
К сожалению, не всегда есть возможность найти швеллер необходимых габаритов. Если вы оказались именно в такой ситуации, то вы можете поступить иначе и использовать под эти цели рельсы или уголки размерами 50 x 100 мм . Но обращайте внимание на то, чтобы основа была ровная и у неё отсутствовали изгибы.
Далее, можно переходить к следующему этапу подготовки швеллеров. По их длине необходимо проделать ряд отверстий , соблюдая заданный шаг. После того как отверстия будут готовы, можно переходить к этапу изготовления стяжки.
В качестве материала для неё можно использовать куски трубы диаметром 3/4 дюйма и длиной около 25 см.
Крепление стяжки выполняется при помощи шпилек или болтов длиной 29–35 см.
После того как основа ленточной мини-пилорамы будет готова, её устанавливают на специальные стойки . Чтобы сборка была выполнена надёжно, необходимо использовать болты диаметром М 12. Материалом для неё могут послужить трубы, уголки или швеллера. Особое внимание нужно обращать на длину станины устройства: чем она больше, тем больше стоек вам понадобится.
При проведении строительных или плотницких работ всегда необходимы пиломатериалы. Это могут быть доски различного предназначения, брус для фундамента и перекрытий, детали строительных конструкций.
Чтобы иметь достаточный запас необходимых материалов, придется часто распиливать необработанные бревна. Конечно же, можно купить уже готовую продукцию, но финансовые затраты увеличатся в несколько раз.
Пилорама заводского изготовления тоже стоит недешево. Однако можно изготовить вполне функциональную пилораму своими руками в домашних условиях, причем расходы будут значительно меньше.
Разновидности
В зависимости от конструкции рабочей части, самодельную пилораму изготавливают трех типов:
- дисковая пилорама;
- ленточная;
- шинная.
Рассмотрим подробнее каждую из них.
Дисковая установка
Среди самодельных устройств чаще всего встречаются именно дисковые пилорамы. Они получили широкую популярность, благодаря своей многофункциональности и простоте сборки.
Более всего подходят для проведения единоразовых строительных работ либо для малого бизнеса, не предполагающего больших объемов производства. Основой данной конструкции является дисковая пила, устанавливаемая на электрическом двигателе либо на шпинделе.
В большинстве случаев изготавливается так называемая «циркулярка» — прочное основание в виде , на котором закрепляется двигатель и вал с дисковой пилой.
Основание изготавливается из деревянных или металлических частей, которые фиксируются в положении крест — накрест и закрепляются с помощью доски подходящего размера.
Поверх доски с помощью болтов крепятся металлические пластины.
В получившейся плите необходимо оставить прорезь для пилы и отверстия для крепления двигателя. Отверстия необходимо дополнительно раззенковать и после этого скрепить с помощью винтов.
Пила должна быть установлена строго посередине получившейся конструкции. Верхняя плита соединяется с основой винтами, в отверстии между плитами фиксируется вкладыш для диска. Последней крепится упорная планка.
Обратите внимание : при сборке пилорамы пристальное внимание следует уделять надежности крепления всех элементов конструкции. Ненадежно закрепленное полотно пилы представляет собой серьезную угрозу для здоровья и жизни человека.
С помощью самодельной дисковой пилорамы можно сделать брус, рейки разного размера и шпон. Скорость вращения пилы достаточна, чтобы получить качественную продукцию с ровными краями и срезами.
Ленточного типа
Установки с использованием ленточных пил применяются на производстве пиломатериалов в промышленных объемах.
Частные производства в большинстве случаев оснащаются самодельными пилорамами, изготовленные на основе чертежей заводских агрегатов. Главное преимущество таких устройств заключается в возможности быстрого распила крупных бревен общим весом до трехсот килограмм.
Изготовление ленточной пилорамы требует специальной подготовки и наличия достаточно большого количества различных стройматериалов:
- трубы различного размера и диаметра;
- металлические уголки для монтажа рельсовой системы;
- швеллер;
- шкивы;
- профильные трубы для шпал.
Кроме этого, потребуются инструменты для работы с металлом — аппарат для сварки, электродрель, болгарка и набор крепежных элементов (болты, гайки, шурупы).
Работы по изготовлению устройства начинаются с монтажа неподвижной части — станины. Форма этой конструкции напоминает букву «П», материалом служат два швеллера или уголка 50X100 мм.
Стандартная длина швеллера составляет 8 – 9 метров, высота не менее 14 см.
После монтажа станины в ней просверливаются отверстия, промежутки между которыми должны быть не менее одного метра.
После необходимо стянуть швеллеры трубами длиной 25 см, крепление производится с помощью болтов нужного размера и шпилек. После этого монтируются стойки, на которых будет закреплена пилорама. Для повышения устойчивости конструкцию дополнительно укрепляют нужным количеством раскосов.
Важно знать: пропорции всех деталей должны совпадать, для пилорамы длиной 9 метров необходима пила размером не менее метра.
К тележке крепится пила, сбоку устанавливается штурвал для управления работой агрегата. Фиксаторы изготавливаются из труб диаметром не более 40 мм, внутрь устанавливаются подвижные шланги. Сверху на трубы устанавливаются прижимы из металлических уголков.
В последнюю очередь устанавливается полотно пилы и двигатель. Постройку конструкции лучше всего производить непосредственно на месте будущих работ, так как общий вес ленточной пилорамы весьма велик.
Вас также может заинтересовать статья о том, как сделать вибростол для тротуарной плитки:
Шинная (логосоль)
Самодельный агрегат кардинально отличается от других видов пилорам своим устройством.
Главной задачей является продольная распиловка бревен, изготовление высококачественного шпона и реек. Многочисленные видео в сети дают исчерпывающую информацию обо всех этапах монтажа шинной пилорамы.
Такой тип пилорам используется на небольших производствах для изготовления мини заготовок нестандартной формы и размера. В самодельных агрегатах в качестве рабочей части используется полотно от бензопилы подходящего размера.
Конструкция состоит из профиля, рабочая высота которого составляет чуть более метра. Бензопила перемещается с помощью тележки.
Точная высота рассчитывается с учетом роста рабочего, дабы избежать длительного пребывания в неудобной позе. На основной профиль укладывается бревно, пила перемещается и производит распиловку по заранее установленным параметрам.
Главное условие, необходимое для качественной работы таких устройств — достаточный вес и жесткость основного профиля, а также наличие необходимого количества опор . Для получения ровной линии распила необходимо наличие как минимум четырех устойчивых колес и ручного привода.
Оптимальным будет использование воротка колодца с приводным колесом. Для регулировки толщины изделия устанавливаются домкраты жесткой фиксации.
Самостоятельное изготовление пилорамы любого типа — трудоемкий и сложный процесс. Целесообразна ли трата времени и средств, каждый решает сам. В любом случае при монтаже агрегата любого типа нельзя забывать о технике безопасности.
Травмы во время работ с деревом получают часто, а самодельное оборудование, собранное недостаточно качественно, представляет опасность для владельца.
Как дешево сделать пилораму своими руками, смотрите в следующем видео:
Большинство жителей пригородной зоны знакомы с необходимостью использования различного деревообрабатывающего оборудования, которое часто используется в бытовых целях на приусадебном участке. Современный рынок ручного и стационарного строительного инструмента изобилует различными моделями устройств для обработки древесины, к самым востребованным из которых можно отнести пилораму. При этом такое оборудование подразделяется на устройства шинного, дискового, рамного и ленточного типа в зависимости от используемого способа распиловки дерева.
Для чего используется шинная пилорама?
Человеком уже на протяжении длительного времени используется древесина разных пород для изготовления конструкций и предметов, используемых в быту. При этом люди постоянно старались своими руками усовершенствовать деревообрабатывающее оборудование. Ручная пила , которая не так давно считалась единственным механизмом для распиловки дерева в домашних условиях, медленно, но уверенно сдаёт свои позиции, уступая место станкам, работающим на электричестве или жидком топливе, которые значительно упрощают человеческий труд..jpg)
Ни одно строительство не обходится без значительных денежных затрат, связанных с обработкой древесины: распиловкой досок, сооружением стропильных конструкций или изготовлением предметов мебели. Естественно, все эти предметы можно приобрести в любой торговой сети, но не всегда это оправданно с финансовой точки зрения. Человек, который привык делать все своими руками вполне сможет собрать шинную пилораму – станок, благодаря которому можно смастерить любую беседку, деревянный сарай или гаражный бокс, баню или дом из сруба и множество других конструкций из древесины.
Основным предназначением пилорамы шиной конструкции изготовленной своими руками является высококачественная распиловка брёвен в продольном направлении для изготовления необрезных и обрезных досок, реек, лафетов и другого пиломатериала, используемого в строительстве. Самодельные шинные пилорамы разрабатывались для производства незначительных партий деревянных строительных заготовок нестандартных размеров и обработки разных пород древесины.
Для монтажа распиловочного оборудования шинной конструкции не требуется много места, что позволяет использовать её на небольшом участке земли. Естественно, такая пилорама не сможет полноценно заменить оцилиндрованный станок или резак, но вполне подойдёт для самостоятельной нарезки бруса и изготовления досок. На сегодняшний день существует стационарное оборудование, работающее от электричества и пилорамы, которые можно перемещать благодаря использованию бензинового двигателя, что очень удобно при заготовке пиломатериала в лесу.
Конструкции и виды шинных пилорам
На сегодняшний день можно рассматривать два вида шинных пилорам, которые реально изготовить своими руками:
- с передвижением рабочего агрегата относительно обрабатываемой древесины;
- с продольным способом подачи деревянных заготовок.
При этом выделить какую-либо модель, которая будет лучшей, нельзя, так как оба типа распиловочного оборудования обладают как достоинствами, так и недостатками.
Так, при перемещении рабочего агрегата вдоль бревна у человека появляется возможность, контролировать прилагаемые усилия , тем самым обеспечивая равномерный ход и распиловку древесины на высоких скоростях.
При подаче бревна по направлению к распиловочному механизму значительно усложняется контроль распиловки. Достаточно слегка сильнее толкнуть дерево и это сразу приведёт к резкому увеличению нагрузки на шину и цепь. Из-за этого может произойти заклинивание цепи или перегрев мотора. Зато в таком механизме нет дополнительных проводов, которые двигаются за основным агрегатом. Естественно, конечный выбор конструкции пилорамы для изготовления своими руками зависит от индивидуальных предпочтений каждого человека.
Но вне зависимости от выбранной конструкции нужно побеспокоиться о сооружении качественной основы, которая уменьшит вибрацию . Чаще всего для основы самодельной пилорамы шинного типа используют металлические швеллеры или рельсы. Нижнюю часть каркаса оснащают колёсиками для обеспечения свободного перемещения пилорамы или обрабатываемой деревянной заготовки.
Изготовление пилорамы своими руками
Прежде чем переходить к сборочному процессу, нужно побеспокоиться о наличии материалов и инструментов из следующего перечня:
Для изготовления шинной пилорамы своими руками используются запчасти от стандартной бензопилы. Рабочая часть состоит из шины, электродвигателя и системы сцепления , которые помещаются в отдельном корпусе.
Этапы сборки распиловочного механизма
Собрав самостоятельно пилораму шинного типа человек, получит незаменимого помощника для решения бытовых проблем. При этом для её самостоятельной сборки существует определённая последовательность мероприятий .
Пристальное внимание при проведении работ своими руками нужно уделить креплению двигателя , который в процессе работы будет сильно вибрировать. Поэтому нужно позаботиться, чтобы станина под него имела достаточную жёсткость.
Установка конструкции на основу
После сборки рабочего блока его нужно закрепить на металлическом каркасе , изготовление которого своими руками состоит из несложных действий.
- Из прочных стальных трубок свариваются две заготовки, по форме напоминающие букву «П». Верхние части полученных заготовок фиксируются друг к другу посредством электросварки или болтов.
- По центру каркаса привариваются четыре патрубка размещённые вертикально. На каждом элементе по внешней стороне проделываются несколько небольших углублений на расстоянии 20 мм друг относительно друга на глубину до половины диаметра трубки.
- На рабочем узле также привариваются четыре трубки, внутреннее сечение которых должно соответствовать наружному диаметру патрубков, размещённых на основании. Размещение элементов, должно быть выполнено таким образом, чтобы патрубки на рабочем узле надевались на трубки несущей основы.
Такая конструкция необходима для обеспечения свободного перемещения распиловочного узла в вертикальном положении. Фиксация рабочего узла в необходимом положении по вертикали обеспечивается при помощи болтов.
Стационарная конструкция шинной пилорамы
Иногда самодельное распиловочное устройство размещается на бетонном основании. Благодаря этому можно обеспечить постоянную горизонтальность, но при этом значительно замедлиться процесс распиловки брёвен. Чтобы увеличить удобство и эффективность работы пилорамы шинной, своими руками можно дополнительно установить промежуточный передаточный механизм – сцепление.
Для этого потребуется между ведущей шестерёнкой и электрическим мотором смонтировать передачу ременного типа . На шестерёнке и валу электромотора монтируются шкивы, на которые будут натягиваться ремни. Для прижатия ременного изделия используются специальные ролики. Чтобы облегчить работу можно позаимствовать готовую конструкцию из мотоблока.
Ознакомившись с конструкцией и принципом действия шинной пилорамы, каждый желающий сможет собрать такой деревообрабатывающий станок своими руками.
Такое распиловочное устройство качественно распускает бревна на доски любой толщины с достаточно высокой точностью. Если человек планирует заняться заготовкой пиломатериала или просто предстоит большое количество строительных работ связанных с деревом, то самостоятельное изготовление распиловочного станка шинного типа позволит сэкономить много времени, сил и денег при обработке, брёвен, досок и других деревянных изделий.
Самодельная ленточная пилорама
Доброго времени суток! Не будем долго говорить и сразу перейдем к делу. В данном материале вам представлено руководство, при помощи которого делается ленточная пилорама своими руками. Итак, приступим к описанию.
Шкивами, которые используются в данном устройстве, раньше обладал комбайн похожий на «Неву», они обладают диаметром 300-320 мм. Шкивы немного стачиваются, это делается для того, чтобы добиться небольшого выступания ремня. В дальнейшем, ремни могут быть сняты совсем, это позволит устройству работать более тихо и продуктивно.
Токарные работы тут задействованы по минимуму. Это стало возможно, благодаря тому, что как направляющие используются полдюймовая труба и труба, которая надевается на нее сверху с зазором 1- 2 мм.
Для начала ,рассмотрим «рельсы»
В качества рельсы, пользуемся уголком 5 см, который устанавливается так, чтобы сторона была сверху, чаще всего, устанавливают, чтобы ребро угла было вверху. Это дает возможность колесу не стереться.
В качестве «Шпал» пользуемся профильной трубой 2,5 на 2,5 см. Тоже приваривается как шпалы, меж профильных трубок, и труба на полдюйма, которая оснащена крепежами когтями. Передвижение и наклон крепежей осуществляется в свободном режиме, дерево зажимается при помощи ударов молотком по зажиму, который, благодаря этому заклинивается.
Реализовано и выступание профильных трубок за пределы рельс. Эти выступы оснащаются регулировочными болтами (М14 на 100 мм).
Профильные трубки обладают «мостиками», поверх которых укладывают палено.
Расстояние от одного мостика до другого — 500 мм (под короткие заготовки).
Шкива своими корпусами (ступицы от автомобиля «Москвич») привариваются на трубки, и вся конструкция в целом передвигается вдоль горизонтальных трубок-направляющих (полдюймовых трубок) и фиксируется при помощи болтов.
- Натяжка правого (ведомого) шкива производиться автоматом при помощи пружины (взятой в амортизаторе «КаСики»).
- Положение левого (ведущей) — фиксированное, но есть возможность передвижения, когда меняется размер в ленточной пиле.
Ленточная пилорама своими руками не может быть сделана без роликов. Разрабатывая ролики, стоит помнить, что они должны быть закаленные. Вся пилорама может быть произведена в гараже, проблемы могут быть только с токарными работами.
Исходя из соображений простоты, осуществляем выполнение «роликового узла», используя для этого набор подшипников, пара одинаковых и сзади немного больше.
Установка «Роликов» выполняется на выточенный вал, чтобы имелась возможность для установки шайб между подшипниками (если меняется ширина пилы). Установка вала осуществляется в той же пара труб, что описывалась ранее, вал и полдюймовка свариваются так, чтобы оси были смещены (показано синим).
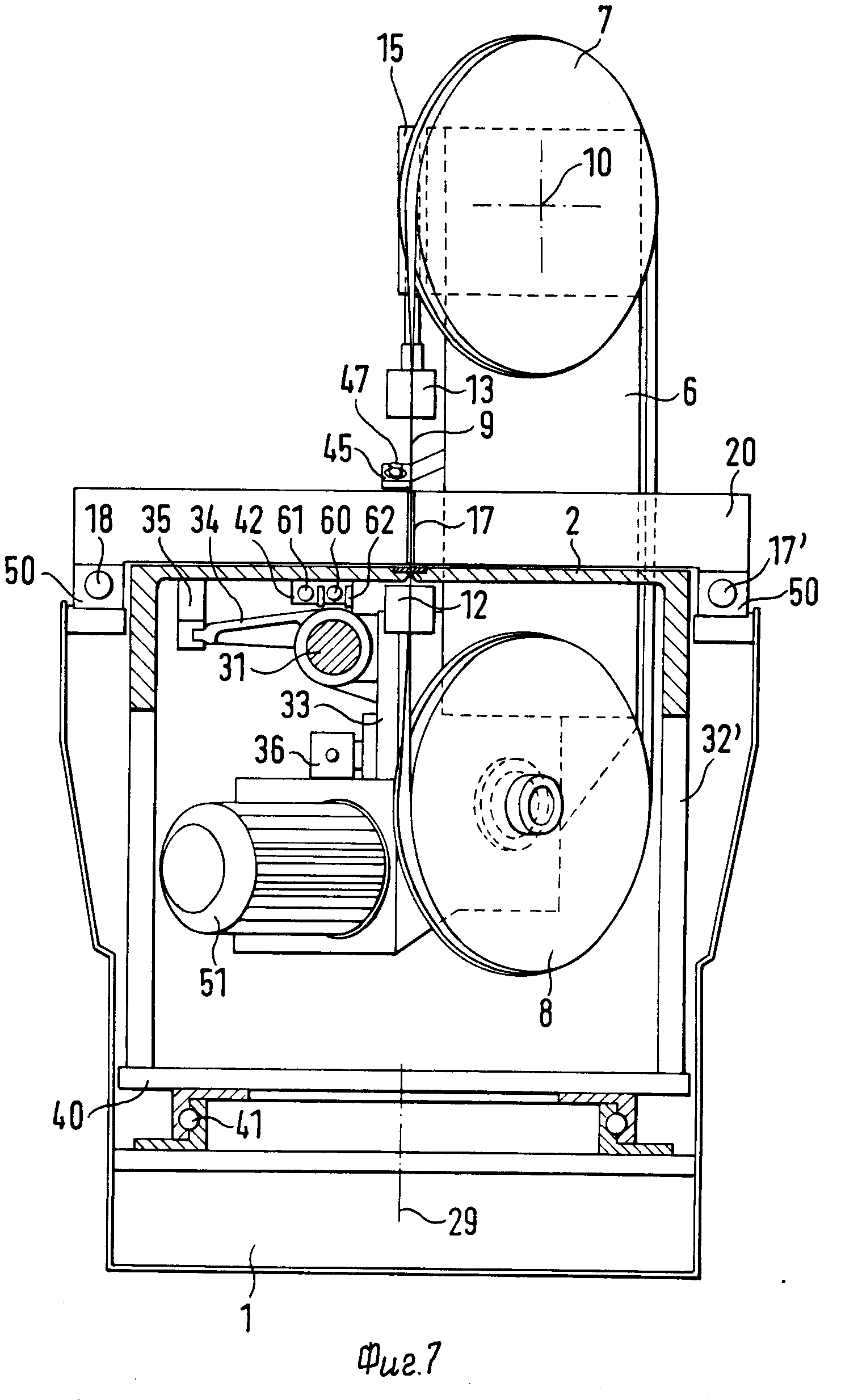
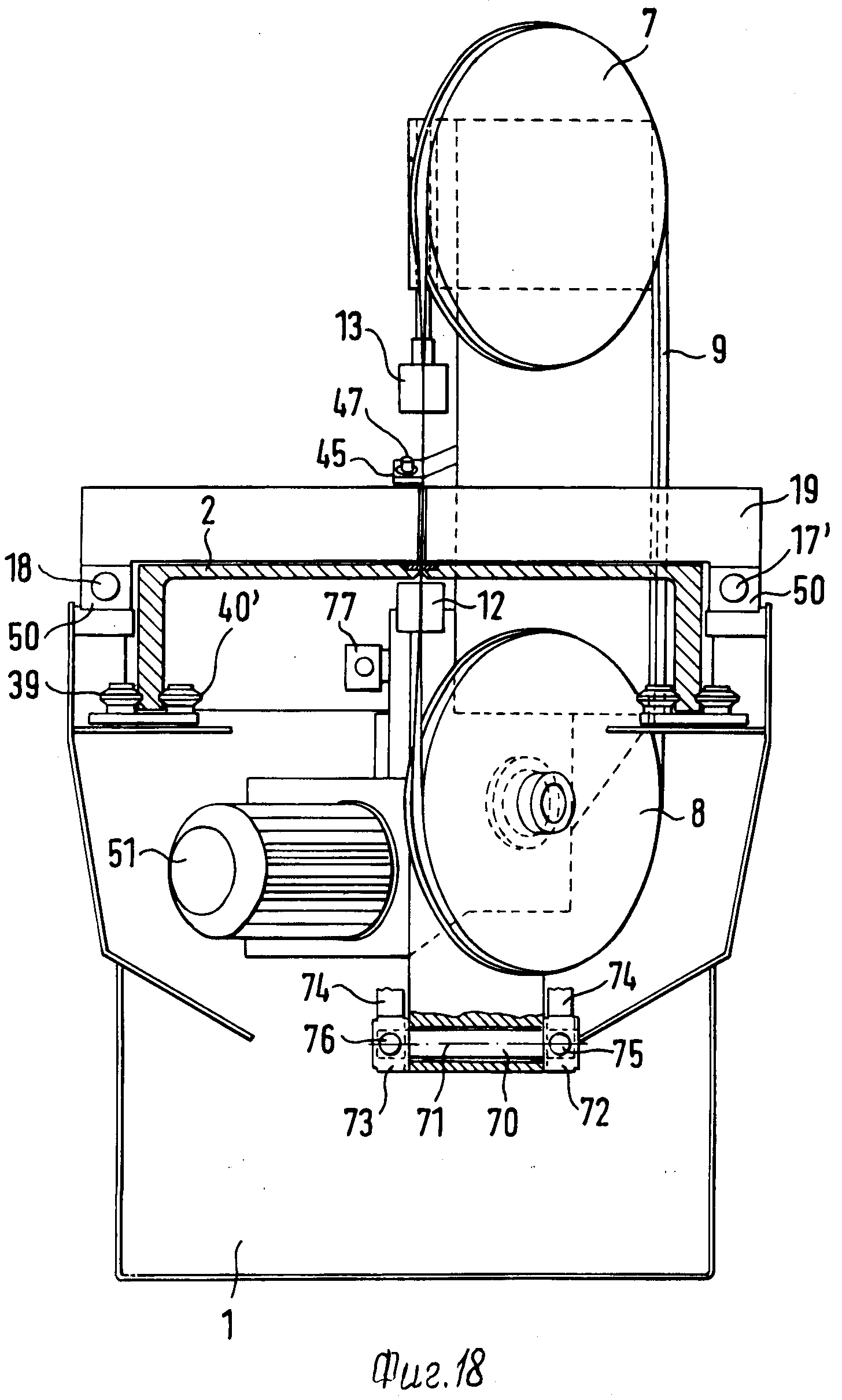
Вся конструкция прикрепляется поверх направляющих трубок таким образом, чтобы можно было осуществить регулировку узла по вертикали и перемещение из стороны в сторону с возможностью фиксации (чтобы регулировать проем в соответствии с диаметром полена). К ролику, который установлен там, где ведомый шкив, крепим капельницу для СОЖ. Для изготовления рамы используется швеллер (100) высота которого составляется 150 см. Ужесточение рамы производиться при помощи косынок. Рама может слегка «играть», это не страшно. Люфт присутствует даже в пилорамах заводского производства.
Перемещение «Режущего блока» осуществляется поверх швеллеров с помощью винтов-шпилек. Чтобы установка «режущего блока» была жесткой, пользуемся болтами с контргайками.
Детали механизма подъема на изображениях.
Немного про установку шкивов
В теории, их расположение должно быть параллельным. Однако, здесь они устанавливаются под углом (2-4градуса). Это делается для того, чтобы лента «оттягивалась» к роликам, в противном случае, может слетать.
https://www.youtube.com/watch?v=T96rO6aXFfI
Данная ленточная пилорама своими руками должна использоваться с учетом того, что будет происходить сушка, и соответственно деформация. ПО этой причине, резать стоит с запасом.
Вариант с колесами:
Ленточная пилорама своими руками
Масштабные работы с использованием деревянного бруса или доски, например, работа плотника или самостоятельное строительство дома, связаны с необходимость регулярного распила необработанных бревен. Разумеется, можно закупать готовые пиломатериалы или приобрести пилораму промышленного изготовления, но это дорого. Данная статья рассказывает (на основе реального опыта), как была изготовлена ленточная пилорама своими руками при относительно небольших расходах.
Это вполне реально сделать и вы получите надежную конструкцию, позволяющую распиливать ствол дерева на отдельные доски трехметровой и более длины. Вам понадобятся некоторые материалы (сортовой прокат и детали старых машин), а также провести слесарные, сварочные и токарные работы. Все было спланированы так, чтобы свести к минимуму необходимость в токарных работах.
Для сборки станка были взяты старые шкивы, примерно 30 см диаметром, демонтированные с комбайна «Нива». Направляющие пилорамы были изготовлены из труб двух видов: диаметром полдюйма и второй, чуть большего диаметра, такого, чтобы легко надевались на полудюймовую трубу с миллиметровым зазором.
На первом этапе нужно изготовить «рельсы». Для этого использовался стальной уголок на 5 см. Установлен он стороной вверх, что требует очень высокой точности регулировки колесиков (плохо установленные колеса быстро износятся об уголок).
Иногда, для решения этой проблемы, уголок укладывают ребром вверх.
«Шпалами» этой конструкции стала профильная труба размером 25х25 мм.
Между этими профильными трубками, приварена полудюймовая труба, а не ней уже закреплены когти — крепеж для бревна. Данные когти свободно наклоняются и перемещаются, а когда нужно зафиксировать бревно, то по зажимам производится несколько ударов молотком, в результате этого происходит самозаклинивание фиксирующего механизма.
Когда делалась ленточная пилорама своими руками, то трубки профильные («шпалы») были изготовлены так, что выступают за рельсы. На выступающих частях стоят болты (M14 x 100 мм) для регулировки. Кроме этого, на профильных трубах сделаны «мостики» — перемычки, на которые кладут бревно перед обработкой. На случай заготовок маленькой длины, последние две перемычки установлены на расстоянии полуметра друг за другом.
Шкивы были подточены так, что надетый ремень на несколько сантиметров выступал. Для корпусов шкивов использовались ступицы от автомобиля «Москвич», приваренные к трубками.
Все это вместе перемещается по направляющим — расположенным горизонтально полудюймовым трубам, а при необходимости, с помощью болтов, данный узел фиксируется.
При выставлении шкивов, вы можете столкнуться с неожиданными проблемами, из-за которых их придется отрезать и снова приварить. Это связанно с тем, что на практике, установка шкивов «по науке», параллельно, приводит к слету ленты в процессе работы. Так что, лучше их установить с легким наклоном, до 4 градусов, тогда лента в движении будет «сама натягиваться» на ролики.
Ведомым шкивом является правый, он натягивается, автоматически, пружиной. В данном случае была использована пружина, демонтированная с мотоцикла «КаСика». А ведущий, левый шкив фиксируется жестко, но его можно сместить, если поменяется размер ленточной пилы.
В пилораме надо использовать каленые ролики. В описываемом в статье варианте был использован роликовый узел, который проще сделать своими силами и быть уверенным в его надежности.
Этот узел состоит из трех подшипников на одной оси: двух — марки 202 и третьего, стоящего сзади, на 2-4 миллиметров больше. Вал с роликами выточен с учетом того, чтобы при изменении ширины пилы, установить шайбы между подшипниками.
Вал входит в две трубки: полудюймовая и вторая, в которую полудюймовка вставлена. В полудюймовой трубе вал находится со смещением оси, фактически, приварен к нижней стенке. Весь данный узел из вала и трубок прикреплен к направляющим таким образом, чтобы роликовый узел можно было регулировать по высоте, смещать в сторону, при различном диаметре бревен, и надежно фиксировать после регулировки. Со стороны ведомого шкива на ролик установлена капельница, подающая смазывающе-охлаждающую жидкость (СОЖ).
Сама рама, высотой полтора метра, сделана из швеллера номер 100, а для дополнительной жесткости, конструкция укреплена косынками. Блок для резки может двигаться по швеллерам посредством шпилек-винтов. А жесткую фиксацию режущего узла в пилораме обеспечивают болты с контргайкой.
Итак, как видите, такое оборудование, как ленточная пилорама своими руками может быть изготовлена даже в условиях небольшой домашней мастерской или гаража. Таким образом, плотник или дачник получит возможность прямо у себя на участке распускать на доски большие заготовки для своих нужд или даже немного зарабатывать — брать заказы на распил бревен.
Еще несколько вариантов рабочих узлов ленточной пилорамы:
Ленточная пилорама своими руками видео
http://www.youtube.com/watch?v=T96rO6aXFfI
Как сделать ленточную пилораму своими руками
Одним из самых мощных и нужных инструментов является ленточная пила.
Этот надежный и проверенный временем помощник человека необходим в строительстве, при различных работах по частному дому, на даче. Домашние умельцы нередко делают ленточную пилораму своими руками. Её применяют для раскройки и порезки различных материалов, чаще всего древесины.
Виды ленточных полотен
Необходим грамотный подход к выбору оборудования для распилочных работ. Чтобы при эксплуатации не возникало проблем, надо правильно учитывать технические характеристики, допустимую область применения, возможности инструмента. Не последнюю роль играют параметры зубцов, размер полотна и качество заточки режущей кромки.
Разнообразие пил может смутить даже опытного мастера. В зависимости от того, что они обрабатывают, их принято разделять на типы. Это может быть:
- Обработка дерева.
- Резка камня.
- Работы по металлу.
- Распилка синтетического материала.
При работе с металлом или камнем нужно использовать инструмент, в котором присутствуют сверхпрочные сплавы. Иначе возможны случаи поломки, брак при обработке деталей или разрыв режущего полотна. Прежде чем самостоятельно собирать или приобретать подобное оборудование, нужно определиться с основными рабочими задачами и оценить объем предстоящих работ.
Если необходимо выполнить значительный объем работ различной направленности, связанный с использованием дерева, досок, тогда придется применить распиливание. Для этого понадобятся как бревна, так и инструмент для обработки — пилорама.
Подготовка к сборке пилорамы
Конечно, в наше время можно приобрести и уже готовые материалы, и промышленную заводскую ленточную пилораму. Но зачастую это связано с большими финансовыми затратами. Выгодней и практичней собрать ленточную пилу по готовым чертежам собственными руками. Это особенно актуально, если есть частный дом или гараж.
В этом случае пилорама оправдана в бытовых условиях.
Для сборки собственной пилорамы необходимо иметь чертежи, режущее полотно, некоторые детали и изучить немного теории. На схеме должны быть отражены размеры и используемые материалы.
Выбор размера инструмента
Длина и ширина пилы зависят от соответствующих параметров станка. Для уточнения надо использовать рекомендации и инструкции к станку, а также чертежи ленточной пилы по дереву своими руками.
Общие рекомендации при выборе оптимального варианта:
- Для продольной резки применяют широкие ленточные пилы, поскольку они обладают максимально ровным пилением.
- Для тонких заготовок требуются тонкие пилы. Чем толще пила и тоньше деталь, тем больше шансов повредить заготовку.
- При резке скруглений или фигурном вырезании ширина режущего полотна должна быть меньше радиуса скругления. Ширина современных пил колеблется от 14 до 88 мм. Обычно для большинства работ достаточно 35—40 мм.
Значение разводки зубьев
Шаг зубьев — это расстояние между острыми краями пилы. Для правильного и эффективного использования инструмента нужно придерживаться общих правил:
- При обработке тонкого материала требуется пила, имеющая крупные зубья. При этом шаг зубьев должен быть равномерным.
- Если поверхность резки длинная, то для распила должен подойти постоянный частый шаг.
- Для порезки натуральных или синтетических полотен нужны полотна с переменными зубьями. Такая пила при работе с мягкой структурой не будет забиваться и скорость работы увеличится.
Качество порезки зависит от разводки зубов. Чем разводка качественней, тем меньше уровень вибрации и тем дольше прослужит сама пила:
- Для работы с тонкими материалами или маленькими заготовками подойдет волнистый профиль.

- Стандартный профиль используют при контурной порезке или обработке объемных деталей. Этот профиль имеет попеременное расположение резцов в разные стороны полотна, при этом один сегмент расположен в центре.
- Зубцы, расположенные попарно в обе стороны, образуют переменный профиль. Он отличается пониженной нагрузкой на режущий край. Сам агрегат стоит дороже, но зато более прочный.
Перед приобретением конкретной пилы надо узнать существует ли возможность повторной заточки и сколько циклов может выдержать материал полотна.
В соответствии с материалом существует следующая классификация полотен:
- Биметаллические. Для работы с нержавейкой или прочными сплавами. Лента обладает повышенной прочностью.
- Алмазные. Это обработка каменного материала, различных минералов. Алмаз, кварц, мрамор.
- Твердосплавные. Резка труднообрабатываемых сплавов.
- Лента из инструментальной стали. Отличный выбор при порезке простых материалов. Этот вид полотен чаще всего используют в маленьких мастерских или домашних условиях.
Изготовление самодельного устройства
Основными элементами самодельной пилорамы являются рама, мотор и, собственно, пила. Хорошо зарекомендовали себя двигатели мощностью в 10 кВт. Мощность такого двигателя позволяет резать практические любые бревна.
Бензиновый двигатель должен вмещаться в корпус самодельной ленточной пилы по дереву. На чертежах должны быть указаны допустимые параметры.
Для изготовления самодельной ленточной пилы потребуются следующие материалы:
- Щиты деревянные, фанерные листы. Они подойдут для изготовления рамы, шкивов и тумбы пилы.

- Листовая сталь. Из неё изготавливается режущее полотно. Можно приобрести готовое полотно в магазине.
- Стальной прут и швеллер. Шкивы устанавливаются на оси и опорную раму, изготовленные из этих деталей.
- Резина листовая. Нужна для создания защитного слоя деревянных деталей пилорамы.
- Ремень. Для передачи вращения от двигателя к колесам.
- Полиуретановый клей. Необходим для склеивания деревянных частей.
- Различные элементы крепежа. Кронштейны, болты, саморезы, шайбы, гайки.
- Электрический или бензиновый двигатель.
Шкивы при изготовлении самодельной ленточной пилорамы подойдут от любой техники. Их необходимый диаметр — около тридцати сантиметров.
Из металлических труб изготавливаются направляющие. Несколько труб полудюймового диаметра и несколько чуть большего. В этом случае трубы большего диаметра свободно одеваются на трубы меньшего с зазором примерно 0.5 миллиметра.
Инструмент, который необходим:
Также может понадобиться фрезерный станок или сварочный аппарат.
Перед началом работы нужно изучить дисковой пилорамы своими руками чертежи. Хороший чертеж способствует быстрому изготовлению пилорамы. Надо убедиться в наличии всех необходимых деталей.
Самостоятельное соединение деталей
После тщательного подготовительного процесса приступают к сборке устройства. При этом важно не торопиться и хорошо проверять качество соединений деталей.
Начинается сборка самодельной ленточной пилорами с изготовления стола с тумбой. На этом столе и будет расположен механизм. Для его сборки понадобятся деревянные бруски, мебельный щит. Заранее просчитывается удобная высота стола, диаметр шкивов. Стол должен быть удобным и вмещать в себя шкивы и двигатель.
На столе должны помещаться необходимые инструменты и быть место для собирания стружки.
Желательно сразу продумать поддон для отходов. Чистка пилы будет проще и удобнее.
Если готовых нет, то нужно изготовить самодельные шкивы. Их можно вырезать из фанеры. Затем заготовки шлифуются, покрываются эпоксидной смолой. По центру шкива высверливается отверстие для роликовых подшипников. Сам подшипник для устойчивости закрепляют в муфте из текстолита. После этого колеса оклеиваются ленточной резиной. Диаметр шкивов допускается произвольный. Тем не менее чем больше диаметр шкива, тем дольше срок службы пилы.
Полотно зависит от размера шкива. Очень хорошим соотношением считается 1/1000 полотна пилы к диаметру шкива. Другими словами, если имеется шкив с диаметром в сорок сантиметров, то подойдет четырехмиллиметровая лента. Когда устанавливается шкив, необходимо проследить, чтобы вал подшипника был перпендикулярным. Даже при небольшом отклонении будет наблюдаться биение колеса, в результате чего лента будет соскакивать.
Следующий этап — это сборка опорной рамы. На ней будет крепиться все устройство. Рама делается из углового швеллера и может иметь С-образную форму. Эта форма замечательно удерживает ленту. На швеллер надевается металлическая ось. Рама или станина — это самая важная часть конструкции.
На оси при помощи втулок насаживаются шкивы. После чего, добиваются их баланса. Против вибрации ленты используют демпфер. Присоединяют к двигателю подвижные детали. Надо иметь в виду, что средняя скорость вращения ленточной пилы составляет от 700 до 900 оборотов в минуту. Этот параметр необходимо учитывать, когда рассчитывается диаметр приводных шкивов.
На двигатель лучше всего одеть защитный кожух. Он защитит приводной механизм от попадания мелкой пыли и стружек.
Для удобства подачи обрабатываемого материала крепят металлические уголки. Они создают направляющий механизм.
Деревянные части надо астроганить, покрасить или покрыть лаком.
С одной стороны, это эстетично и удлиняет срок службы изделия, а с другой — защищает руки работающего от заноз из необработанного дерева. Перед покраской древесина зачищается мелкой шкуркой и обрабатывается жидкостями, предотвращающими гниение дерева.
Настройка, проверка и заточка
Перед началом работы обязательно надо проверить и настроить аппарат. Необходимо убедиться, что лента образует прямой угол. Малейшее отклонение может привести к поломке машины и даже нанести травму. С помощью ведомого шкива натягивают ленту. Добиваются максимального натяжения резательной ленты.
Заточка ленточных полотен несложна и доступна. Технология проверена многими мастерами. Необходим специальный станок и немного терпения. Сначала производят первоначальную заточку, то есть восстанавливают симметрию, выравнивают зубья пилы, удаляют небольшие трещины на кромках. Затем очищают пилу от пыли и металлических опилок и производят разводку, восстанавливая задний и передний углы.
Завершающим действием является финальная заточка. Именно она придает зубьям необходимую остроту и устраняет различные искажения.
Правила применения и техника безопасности
После изготовления и настройки можно использовать пилораму в работе, соблюдая определенные правила и технику безопасности.
Необходимо помнить, что полотно способно разорваться, лопнуть или соскочить. Поэтому при сомнениях в надежности крепления лучше находиться на некотором расстоянии от оборудования.
Существуют следующие правила эксплуатации электропилы:
- Размер зубьев пилы находится в прямой зависимости от обрабатываемой детали. Чем больше деталь, тем крупнее зубья полотна.
- Практичней всего использовать универсальные ленты. Тогда при смене обрабатываемого материала не нужно будет часто менять полотно.
- Нужно заранее подобрать место установки устройства. Обязательно должна поблизости находиться розетка и само место должно хорошо вентилироваться.
- Перед работой проверяется натяжение режущей ленты.

- Пилы не рекомендуется включать более чем на два часа подряд. После такой интенсивной работы ленту снимают со шкива и оставляют «отлеживаться» на двадцать четыре часа.
- Станок нуждается в регулярной смазке.
- Развод зубьев на пиле обязан быть правильным.
В результате правильной сборки появится нужный в хозяйстве инструмент, собранный по чертежам ленточной пилорамы своими руками. При небольшой сноровке работать на нем удобно и несложно. Тележкой подвозится исходный порезочный материал. На ложе кладется распилочный материал, фиксируется и при помощи пилы происходит обработка бревна или другого материала.
Самодельная ленточная пила нуждается в уходе и регулярных проверках. При сбоях или расслаблении крепежных элементов лучше приостановить работу и исправить замеченные недостатки. При эксплуатации устройства надо быть внимательным и осторожным.
Как я построил лесопилку на заднем дворе
Деревообработка — мое недавнее хобби. Мне повезло, что у меня есть неплохой гараж, полный инструментов, которые я купил за свои одинокие дни. Совет: купите эти игрушки до свадьбы! С момента создания семьи (второй ребенок на подходе) становится все труднее позволить себе деревообрабатывающий инструмент! Помимо машин и расходных материалов, сырье выходит за рамки моего бюджета.
Вокруг моего дома много дерева в виде только что упавших ветвей и деревьев.Я посмотрел на него и подумал: «Если бы я только мог освободить доски внутри». Коммерческие лесопилки большие и дорогие, но когда я начал исследовать их, голос в моей голове сказал: «Эй, я могу сделать одну из них!»
Если посмотреть на ленточнопильный завод, то на самом деле его всего три части: ленточная пила, портал, удерживающий ее в горизонтальном положении, и рельсы, по которым все это может скользить.
Есть несколько сложных моментов, но я сначала проигнорировал их и просто бросился в строительство.
Есть что сказать о теориях и планах, но слишком часто я увязаю в дизайне. При его создании не использовались чертежи САПР или бумажные эскизы. Единственные расчеты, которые я сделал, были для определения размеров шкивов, чтобы получить правильную скорость лезвия (2800 футов в минуту) и определить, как далеко должны быть друг от друга колеса для определенной длины лезвия. Я конструировал «на лету», руководствуясь собственным опытом и интуицией — то, что я называю «инженерией глазного яблока».
Это сработало для некоторых вещей.Я придумал хитроумную конструкцию для натяжения полотна на основе направляющих фрезерного станка. Я придумал, как сделать направляющие для лезвий, используя только простые подшипники и немного лома. Я чувствовал, что большинство самодельных лесопилок используют слишком много металла и слишком тяжелые, поэтому я построил свою с наименьшим количеством стали, насколько мог, и в итоге получил очень способную легкую машину.
Однако кое-что из моей интуиции было далеким. Я предположил, что двигателя переменного тока мощностью 1 л.с. более чем достаточно для рыхления 20-дюймовых бревен.Ну первый раз пользовался пилой, этот мотор перегрелся и чуть не загорелся! Теперь я гораздо лучше понимаю мощность в лошадиных силах.
Также я недостаточно хорошо разбирался в тонкостях работы с полотнами ленточной пилы. Мне стыдно признаться, что я даже не заказал лезвие, пока пила не была почти готова. До этого момента я не исследовал лезвия. Лезвие, которое я купил, сильно билось в разрезе или терлось о дерево и несколько раз отваливалось. Поскольку первое купленное мной лезвие было слишком узким, не было надежды на то, что направляющие лезвия выполнят свою работу.
Первое, что я сделал в своей второй доработке, это заменил мотор на «маленький» бензиновый двигатель мощностью 6,5 лошадиных сил.
С точки зрения стоимости и веса на одну лошадиную силу, газ побеждает электричество.
Затем я заменил лезвие. Оглядываясь назад, я понимаю, насколько безумно было не начинать свой дизайн с той части, которая выполняет фактическую резку. Оказалось, что на рынке всего несколько лезвий, которые будут работать с такой маленькой пилой, поэтому я заказал по одному. Это начало становиться дорогим, но я списал это на исследования.Мне посчастливилось найти тот, который отлично работает. Кроме того, он был самым толстым, дешевым и, как я думал, точно не подойдет.
В результате получилась небольшая лесопилка, которая просто роет деревья! Я был очень удивлен, насколько хорошо это работает. Я просто хотел попробовать это и закончил тем, что фрезеровал бревно из расщепленного клена диаметром 18 дюймов и длиной 6 футов на более чем дюжину досок размером 6 x 1 дюйм. Кедровое бревно, которое я разрезал затем, показало потрясающую пурпурную сердцевину. Я начал фрезеровать дерево и просто не мог остановиться.В конце концов я пришел в чувство и признал, что у этой пилы практически нет функций безопасности. Следующим моим шагом перед тем, как разрезать другую доску, будет установка ограждений вокруг лезвия и приводного ремня. Я также добавлю ручку для толкания.
Тогда есть рельсы. Свернутые вместе пиломатериалы 2 × 8 сработали на удивление хорошо, но, вероятно, всего этого хватит только на один сезон. Я скатываю бревна и прикручиваю их к дереву. Это сработало довольно хорошо, но медленно, и рельсы начинают ломаться.Со временем заменю его сварным металлическим каркасом со встроенными зажимами для крепления бревен. Фактически, если бы я построил еще один завод, я бы буквально начал с нуля и сосредоточился в первую очередь на обработке бревен и создании прочной основы для остальной части пилы.
Посмотрите мои видео, чтобы узнать больше о сборке и увидеть ее в действии. Я скоро опубликую обновленное видео, поэтому, пожалуйста, подпишитесь на мой канал и следите за обновлениями!
youtube.com/embed/sgI36lYGVU0?feature=oembed» frameborder=»0″ allow=»accelerometer; autoplay; clipboard-write; encrypted-media; gyroscope; picture-in-picture» allowfullscreen=»»/>
Строительство гигантского ленточнопильного завода
Около двух лет назад Мэтт Кремона спроектировал и построил свой собственный ленточнопильный завод в Миннесоте.Прошлым летом на мероприятии (которое я посетил с Мэттом Кремоной, Джей Ди Брюером и Джонни Бруком) мне пришла в голову идея вывести ребят и повторить сборку здесь, у меня дома в Техасе. Мэтту понадобилось 4 месяца, чтобы построить все самостоятельно. Мы с командой дали себе 5 дней. Вызов принят.
вещей, которые я использовал в этом проекте:
ISOtunes Bluetooth Защита слуха: http://amzn.to/2pEjNtv
Cermet Blades: https://amzn.to/2V1goRN
Планы установки для резки пилы: http://bit.ly/ 2If8ORY
Triton SuperJaws: http: // amzn.to / 2qFLYJF
Ridgid Octane Drill: https://amzn.to/2IA6yVP
Программное обеспечение для трехмерного моделирования: http://bit.ly/2uehhtC Плазменный стол с ЧПУ
: http://bit.ly/2GIUZK6
Таблицы сварных швов: http : //bit.ly/2NquEkD
Металлический карандаш для маркировки: http://amzn.to/2wMHgJi
Lincoln Power Mig 260: http://bit.ly/2OM8BVB
Lincoln Power Mig 210: http://amzn.to / 2vJD7ZI
Сварочный кожух: https://amzn.to/2LRGI0t
Сварочный и шлифовальный кожух: https://amzn.to/2MkdSlK
Сварочный кожух: http://amzn.to/2vJuQ7R
Сварочные перчатки: http: / / amzn.to / 2uuxhat
Сварочная тележка: http://bit.ly/2E7GZpC
Аккумуляторная шлифовальная машина: https://amzn.to/2KzmiEg
Квадраты огненного шара: http://bit.
ly/2IyXyQE
Laser Measure: https: // amzn.to/2VgNBZC
Зажимы !!
Bessey Quick Clamp: https://amzn.to/2T0Fvqo
Bessey Duo Clamp: https://amzn.to/2OS3er1
Bessey Rapid Ratchet Clamp (мой любимый) https://amzn.to/2U5qwsN
Bessey Small General Назначение: https://amzn.to/2GGHFFV
Встроенная ручка Bessey: https://amzn.to/2GLDlFw
Bessey Classic Heavy Duty: https: // amzn.к / 2EaKICD
Планы ленточнопильного завода Мэтта Кремоны: http://bit.ly/2BMQUjS
Прежде чем приступить к сборке, позвольте мне сначала объяснить, что такое ленточнопильный завод и какие подготовительные работы потребовались за несколько недель до прибытия ребят. Ленточная пила — это оборудование, в котором вы можете положить бревно на станину и разрезать его на плиты.
На этом фото мельница Мэтта Кремоны.
Это альтернатива использованию цепной пилы, которую я показывал вам в нескольких видеороликах назад.Вы, безусловно, можете купить большую ленточную пилораму прямо с полки, однако они очень дороги и, безусловно, не будут производиться. Поскольку я знаю, что его спросят, что-то с такой сокращенной мощностью стоит около 75 000 долларов, а я смог построить это чуть менее чем за 16 000 долларов. Он имеет ширину среза 76 дюймов и длину 12 футов. Скорее всего, это больше, чем что-либо, что я когда-либо буду вырезать здесь, на юге, но, поскольку я пытался построить его с нуля, я предпочел бы иметь больше того, что мне нужно, чем меньше.
Это был огромный проект, над которым нужно было справиться всего за неделю даже с четырьмя из нас. К счастью, после того, как Мэтт построил свою ленточную пилораму, он разработал для нее ряд чертежей. И он был достаточно любезен, чтобы прислать мне набор заранее, чтобы я мог начать готовиться к нему.
Это означало, что я смог заранее заказать все оборудование, детали и сталь, необходимые для этого проекта. Две недели, предшествовавшие приезду ребят ко мне, были посвящены тому, чтобы сделать все, что можно было сделать заранее, чтобы сборка прошла гладко.
Что включало сортировку всего оборудования для отдельных шагов. Видите ли, когда я заказал все гайки и болты, необходимые для этого проекта, они оказались в огромной коробке. Моя ассистентка Эрин подсчитала необходимое количество, сгруппировала вместе и пометила оборудование для каждой порции.
Таким образом, всякий раз, когда нам нужно было, скажем, пильной головкой, мы могли подойти непосредственно к коробке с надписью «пильная головка», вытащить ее и получить все необходимое для нее оборудование.
Я также заказал всю сталь, которая составляет около 4 000 фунтов. У меня только 16-футовый прицеп, и, если вы раньше не заказывали сталь, материал бывает 20-футовый, иногда 24-футовый. Вы можете попросить двор отрезать все ваши части за вас, но они берут приличную копейку за каждый разрез. Итак, я пошел дальше и попросил их сделать по одному отрезу на каждой длине, чтобы уменьшить размер, чтобы он поместился на трейлере. Затем я сделал остальную часть разрезов в своем магазине.
Эту задачу облегчили несколько вещей:
1) В планах Мэтта есть культист для каждой части на протяжении всей сборки, и я сначала добавил планы, чтобы я мог быстро переходить к каждой странице со списком вырезок.
2) Станция по распиловке древесины, которую я только что построил. До этой сборки я использовал пол для резки длинных швов. Наличие этой станции, над которой нужно работать, и моего материала, полностью поддерживающего ее длинные крылья, определенно изменило правила игры.
Затем 3) клинок Diablo Cerment. Это лезвие невероятное. Это совершенно новая технология от Diablo, сочетающая в зубах керамику и металл. При резке металла искр не только практически отсутствует, но и выделяется так мало тепла, что после резки сталь действительно остывает на ощупь.
Это лезвие также создает поверхность без заусенцев, что сокращает время, затрачиваемое на очистку. Эти лезвия не только служат в 10 раз дольше, чем лезвия с твердосплавными наконечниками, но и имеют более низкую цену, чем лезвия с твердосплавными и алмазными наконечниками.
Если вы хотите ознакомиться с этими лезвиями из цемента, у меня есть ссылка ниже, но обратите внимание, что они действительно требуют низкоскоростной пилы, которая работает около 1600 об / мин вместо традиционной отрезной пилы, которая работает около 6000.
После того, как деталь была отрезана до нужной длины, я пометил ее желтой ручкой, прежде чем отложить в сторону.Таким образом, мы могли перейти к куче и быстро забрать то, что было нужно.
После того, как весь соединительный материал был вырезан, я перешел к сверлению и нарезанию резьбы во всех отверстиях. На бурение и нарезку резьбы здесь уходит около 2 1/2 дней. Это несложно, но идет медленно, потому что все очень тяжело и требуется секунда, чтобы переместиться.
Недавно я построил новую стойку сверлильного станка для своего деревообрабатывающего цеха. Однако для этой сборки стыки материала были такими длинными, что в итоге я использовал свои Triton Superjaws в качестве боковых опор.Я также использовал фанерный ящик, который был построен на основе высоты SuperJaws, что очень хорошо сработало.
Когда пришло время нарезать резьбы в отверстиях, я решил использовать дрель, чтобы быстрее пройти сквозь них, вместо того, чтобы пробивать отверстия вручную. Я всегда знал, что вы можете просверлить и пробить отверстие, но есть разница между пониманием концепции чего-либо и его выполнением. Я нашел стучать по металлу увлекательным занятием. Для тех из вас, кто не знаком, нарезание резьбы означает нарезание резьбы в просверленном отверстии.Это означает, что вы можете поставить болт куда угодно, не прибегая к задней стороне и закрепляя его гайкой.
Я попросил своего продавца Скотта проделать большинство отверстий, пока я занимался другими делами, потому что до прихода ребят было еще много дел.
Поскольку у меня есть плазменный ЧПУ, я решил смоделировать все плоские детали, необходимые для сборки, и использовать ЧПУ, чтобы вырезать их. Я снова отработал планы Мэтта, чтобы составить этот список сокращений.
Для деталей требуется сталь трех разных толщин, поэтому этот материал был выбран одновременно с материалом соединения.Так как моя плазменная кровать имеет размер 4 на 4 дюйма, мне пришлось разрезать простыни во дворе.
Теперь доставить очень тяжелые листы к столу с ЧПУ для плазменной резки было самостоятельной задачей. Как видите, сюда был зачислен трактор, несколько ремней и хомуты Бесси. Кстати: я не имею отношения к компании, но эти ремни зеленого и фиолетового цвета были огромным преимуществом. Они определенно заняли постоянное место в моем магазине.
Но, возвращаясь к плазменному ЧПУ, у меня возникли проблемы с компрессором, работающим на моем столе, и поэтому я не мог его использовать.И, к сожалению, так как я думал, что это будет одна из самых быстрых задач, я оставил ее напоследок. Это означало, что ребята пришли, и у меня не было вырезано ни одной из плоских частей. Конечно, все можно вырезать болгаркой, но поскольку на сборку у нас отведено всего пять дней, это займет слишком много времени. К счастью, кто-то из соседнего города был достаточно любезен, чтобы открыть свой магазин и вырезать необходимые детали. Особая благодарность ему, особенно учитывая, что это было в воскресенье на Суперкубке.
Хорошо, я думаю, это поможет вам узнать, что мы создаем и что было сделано к этому моменту.Последнее, на что у меня было время, это подготовить детали, необходимые для первого этапа сборки, то есть огромной кровати.
Теперь позвольте мне представить вам команду сборки, чтобы вы знали, кто есть кто.
Сначала Джонни Брук, руководитель канала Crafted Workshop. Он живет в Северной Каролине и является универсальным производителем, который занимается проектами из дерева и металла и снимает видео о том, как он это делает.
Далее идет мастер-сварщик и изготовитель нашей группы, JD. JD зарабатывает себе на жизнь сваркой и производством, и сейчас я скажу вам, что без него в команде мы не смогли бы продвинуться так далеко, как мы.
Он живет в Атланте, и его можно найти в Instagram под ником Apexish.
И, наконец, что не менее важно, это дизайнер мельницы Мэтт Кремона. Мэтт на самом деле прекрасный плотник, но он научился сваривать и строить мельницу, чтобы изготавливать плиты из собственного материала. Он живет за пределами Миннесоты и также ведет свой собственный канал на YouTube.
Мы упустили Джонни с самого начала, потому что он полетел позже остальных. Мы пошли дальше и начали работу из-за сжатых сроков.
Теперь, когда все части станины уже отрезаны по длине, просверлены и нарезаны резьбы, мы начали с подготовки участков, где мы будем соединять детали и сваривать их. Сталь выходит со двора довольно грязной, с прокатной окалиной и иногда ржавчиной. Чтобы добиться наилучшего качества сварки, поверхность следует очистить откидным диском. Вы увидите, что на протяжении всей этой сборки мы перепрыгивали между кофемолкой с батарейным питанием и сетевой, в зависимости от задачи.
Ножки станины состоят из гайки и болтов.Это даст мельнице регулируемые ножки, чтобы при перемещении мельницы наружу (потому что да, мельница будет построена внутри, но позже будет перемещена по частям) у нас будет способ выровнять основание до неровной поверхности. Гайка будет приварена к рельсам по центру отверстия. Мы использовали болт, чтобы удерживать гайку по центру в этом отверстии, пока мы проходили через него, прихватывали, а затем приваривали их на месте.
Пока я работал с одной стороной, Джей Ди начал с другой под наблюдением Мэтта. Мэтт Стик сварил всю свою ленточную пилу и раньше никогда не занимался сваркой.Наблюдая за JD через капюшон, он впервые попробовал свои силы в Mig. Излишне говорить, что ему это понравилось, и он занял другую позицию, в то время как JD установил третью машину и начал движение по центру.
Это была еще одна большая область подготовки, которую я проделал до того, как пришли ребята… .Настройка оборудования и рабочих станций для работы не только с проектом такого масштаба, но и с несколькими телами, работающими в магазине одновременно.
Для этого проекта мы используем машину Lincoln Electric Power Mig 210, а также машину Power Mig 260.
После того, как ножки поставили на место, мы начали соединять каркас кровати вместе. Для этого шага, как и для многих других, мы использовали эти удивительные квадраты, о которых я никогда не слышал, которые называются квадратами огненного шара. Большое спасибо JD за их привлечение. Они имеют идеально квадратную форму и имеют выступы на них, чтобы вы могли прижимать их заподлицо к заготовке, а также соединять детали с идеальным углом 90.
После того, как мы разместили по одному в каждом углу, мы перешли к очень трудоемкому, но важному этапу — скруглению рамы и проверке ее ровности.
И что мне нравится в работе с другими, так это то, что я вижу их рабочий процесс и то, как он отличается от вашего. Когда пришло время измерять квадрат, мы с Мэттом вытаскивали ленты, но Джей Ди подошел к своему набору трюков и вытащил лазерную рулетку. Я никогда бы не подумал использовать его, но, видимо, это инструмент в магазине JD, и после этой сборки я понимаю, почему. Мы использовали его, чтобы взять диагонали кадра и постучать по нему туда-сюда, пока он не стал квадратным.
Следующим шагом было убедиться, что он плоский.Очень важно, чтобы кровать была не только квадратной, но и полностью плоской. Чтобы измерить это, мы натянули какую-то струну в виде тугой X-образной формы и перемещали угловые ножки вверх и вниз, пока струны просто не целовались.
Я думаю, что в реальном времени на выполнение этого шага у нас ушло около 1,5 часов. Но оно того стоит, потому что оно важно.
Затем JD приклеил, а затем сварил крышки рамы, пока мы с Мэттом начали устанавливать поперечины кровати. Чтобы сделать это немного проще, мы взяли кучу обрезков металла и прижали их к концам, чтобы создать выступ для наших суставов.Это сделано для того, чтобы мы могли убедиться, что они сидят заподлицо с верхом длинных перил.
Это забавно, потому что до этого проекта я действительно думал, что у меня может быть слишком много зажимов… и я ошибался! Я использовал каждую из них, и были времена, когда я охотился за дополнительными.
Сборка этой кровати — отличный тому пример.
Перед тем, как на самом деле сварить эти соединения на месте, мы работали с JD, прокладывая уровень на каждый из них, чтобы убедиться, что они сидят там по вертикали.Затем я добавил несколько гвоздей, когда он сказал, что все в порядке. Вы можете видеть, как Мэтт на заднем плане готовит все к следующему этапу сборки. Когда мои прихваточные швы были выполнены, я пошел и присоединился к нему, пока JD выполнял все чистовые сварочные работы.
Разделение задач и одновременное выполнение нескольких задач было ключевым компонентом в том, чтобы втиснуть этот проект в такие несколько дней. И хотя я проделал большую подготовительную работу, было еще много вещей, которых я не успел сделать, и мы должны были делать по ходу дела.Поэтому, пока JD занимался сваркой, мы не мешали ему, но были заняты созданием другого компонента. Хотя мы без колебаний останавливались и принимали участие или смотрели, когда происходит что-то крутое. Например, когда JD нуждался в доступе к нижней стороне станины для завершения сварных швов, и я использовал свой новый (старый) заводской кран. Это не было чем-то, что я купил для этой сборки (время чисто случайно), но я рад, что это было рядом, потому что в этой сборке много тяжелых вещей, и она, безусловно, пригодилась.
Продолжая работу с деталями станины, затем Джей Ди и Мэтт вместе работали над сваркой опор или упоров. Их высота регулируется, чтобы бревно не скатилось с кровати.
Затем последним шагом на станине была шлифовка верхних сварных швов, чтобы можно было добавить к верху кусок углового железа и прикрепить его. Это произошло очень быстро, поскольку отверстия для рельса и отверстия в уголке были частью «заранее сделанной» сваи. Это означало, что нам просто нужно было пройти и закрепить его болтами.
Теперь станине действительно нужна дополнительная сталь поверх поперечин, которая защитит их от ударов, но также поднимет их на ту же высоту, что и угол наклона.
Однако сталелитейный двор, на котором я заказал сталь, оставил их без моего груза. Это не большая проблема, но чего-то не хватает, что нам нужно будет добавить позже.
Кроме тех недостающих верхних частей, кровать была полной! И я должен сказать, что мы были впечатлены и довольны собой за то, что так быстро выбили его.Мы на самом деле застелили всю кровать до приезда Джонни. Так что, хотя он отсутствует в этом эпизоде, он был жизненно важной частью сборки и будет в следующих частях, так что следите за обновлениями.
Думаю, это отличная остановка на этой неделе. В следующем видео мы продолжим сборку, построив каретку. Я так рада поделиться этим проектом. Надеюсь, вам это до сих пор нравится. Увидимся на следующем.
JD: http://bit.ly/2T9i7qY
Джонни Брук: http: // bit.ly / 2wf92ho
Мэтт Кремона: http://bit.ly/2sKSjUc
Планы ленточнопильного завода Мэтта Кремоны: http://bit.ly/2BMQUjS
Посмотрите, как Мэтт строит свою фабрику: http://bit.ly/2GYINUR
(Большинство ссылок на продукты, перечисленные выше, являются партнерскими ссылками. Как партнер Amazon я зарабатываю на соответствующих покупках.)
Как построить лесопилку менее чем за 1000 долларов — Сделай сам
До того, как я решил построить для своей семьи бревенчатый дом в лесах центральной Джорджии, у меня не было опыта работы с лесопилкой или какой-либо связи с торговлей пилорамами.Однако когда пришло время делать квадратные бревна и резать сверхтолстые балки перекрытий и балки крыши, я обнаружил, что наиболее практичный и экономичный способ сделать это — спроектировать и построить свою собственную мельницу … с нуля и на месте.
Я ни в коем случае не эксперт по лесопилкам, но я счастлив поделиться с читателями MOTHER EARTH NEWS тем, что я узнал на собственном горьком опыте о том, как построить лесопилку, «просто сделав это».
Вы можете спросить, зачем кому-то нужна собственная лесопилка. У меня есть веские причины.
Во-первых, если вы работаете с деревом, вы знаете, как резко выросли цены на пиломатериалы в последнее время. Обычная строительная конструкция, высушенная в печи, 8 футов 2 x 4 стены подорожала еще на треть только прошлой зимой, до 3,50 долларов в некоторых местах. Доска размером 2 x 10 x 12 футов, используемая для балок крыши или перекрытий, стоит почти 15 долларов. Таким образом, одним из преимуществ собственной фабрики является сокращение числа посредников по доставке и устранение затрат на доставку пиломатериалов к вам, что означает экономию денег — огромных денег, если у вас есть дом, сарай или аналогичное крупное строение. поднять.
Еще одна привлекательность вашей собственной фабрики заключается в том, что вы можете резать пиломатериалы любого размера на ваш вкус. Квадратные бревна для стен и негабаритные бревна, которые я хотел использовать для стропил и балок перекрытий, не продавались ни в одной торговой точке. Мне пришлось бы заказывать их на заказ, так как «габаритные» пиломатериалы из прозрачной ели или ели поставляются только той толщины и ширины, которая рассчитана на производство самых дешевых каркасов домов из палки. Почти все пиломатериалы для обрамления имеют толщину в 1 3/4 дюйма. Доска, которая называется 2 x 4, уже не имеет толщины 2 дюйма и ширины 4 дюйма.Возможно, именно поэтому бревно выглядит как грубый пиломатериал, но после сушки в печи и гладкого строгания (так что каждый кусок будет одинакового размера и точным во всех размерах), доска имеет размер всего 1 X 3 / 4 дюйма толщиной и 3 1/2 дюйма шириной. Вы платите за древесину, которая была в пропиле, за пропил в бревне, который превращается в опилки, и за удаленную тонкую стружку, чтобы сделать грубую доску гладкой. Вы просто не можете взять с собой древесную стружку.
Доски остались шероховатыми и осколками, но полноразмерные доски могут отличаться от истинного размера на крошечные доли дюйма, но они могут сэкономить ваше время и дерево, поскольку вы можете разместить большие доски дальше друг от друга.
Кроме того, если оставить на виду внутри здания, негабаритные балки и грубо обрезанные доски придадут вашему дому грубый вид ручной работы.
На собственной фабрике вы можете распиливать местные хвойные породы дерева для каркаса зданий и распиливать местные бревна лиственных пород для изготовления навесов, дверей, панелей и другой отделки дома или для изготовления мебели. Я использую такие редкие лиственные породы и трудно найти мягкие породы, такие как черный орех, пекан, кипарис и желтый тополь, которые обычно выбрасываются в отходы; например, заросшие тенистые деревья, вырубленные на участках домов, обычно расщепляются на дрова или сжигаются и раскалываются на месте.
Завод также дал мне возможность использовать хвойную древесину, которая пошла бы в отходы. Южно-желтая сосна — это строительный пиломатериал, из которого они производят обработанные под давлением устойчивые к гниению пиломатериалы, называемые «PT». (А потом это отправляется по всей стране отсюда, тратя впустую, я не знаю, сколько энергии) Желтая сосна растет как сорное дерево в Джорджии, и я сделал пиломатериалы из деревьев, которые были срублены, чтобы расширить шоссе. Строительная бригада сложила их для сжигания и нисколько не возражала, что я их утащил.Еще я делаю пиломатериалы из сосны, пораженной сосновыми короедами. Не существует известного способа избавиться от жуков, поэтому срезать дерево, пока оно еще живое и пригодное для древесины, кажется более логичным, чем позволить ему умереть и сгнить.
Хотя не все мои пиломатериалы собираются из мусора, я испытываю значительное удовлетворение, когда могу превратить дерево, которое было бы потрачено впустую, во что-нибудь полезное. И пока мой грузовик работает, а я продолжаю замечать деревья, которые можно брать бесплатно, мельница позволяет мне резать что угодно, от бейсбольной биты до дома, не задумываясь о стоимости сырья.
Лесопильные технологии
Лесопилки довольно просты. В традиционной мельнице есть источник энергии, колесная каретка на гусенице, пильный диск и различные валы и подшипники, соединенные с шестернями или набором барабанов, ремней и шкивов.
Спроектировать и построить мельницу с нуля подойдет не всем, потому что для этого требуется определенная степень механических способностей и несколько инструментов. Купить готовую мельницу или комплект — это вариант, если вы можете выкурить ее и если деньги не имеют значения.Но моя мельница является доказательством того, что вы можете построить свою собственную намного дешевле, используя лишь здравый смысл и старомодную решимость. Чтобы построить лесопилку, вам не нужны все профессии, над которыми я работал, только базовые механические навыки и несколько инструментов для обработки металла. И вы всегда можете найти руку помощи. Мобильные сварщики «имеют грузовик, будут путешествовать», а производители металлоизделий везут сырье всех размеров и могут резать и сваривать детали на заказ.
У вас есть четыре типа мельниц для тяжелых условий эксплуатации: есть выбор между ленточной пилой или циркулярной пилой в переносной или стационарной установке.В стационарной мельнице бревно закреплено на колесной тележке (часто называемой бревенчатой балкой), которая движется по рельсам и протягивается мимо большого лезвия, питаемого от мощного источника энергии. В переносной мельнице бревно остается неподвижным. Лезвие гораздо меньшего размера вместе с маленьким двигателем, который его приводит в действие, протягивают мимо бревна.
Ленточнопильный станок — это увеличенная версия обычного электроинструмента для деревообрабатывающей промышленности. Это замкнутая петля из тонкой гибкой стали с зубьями на одном крае, которая непрерывно проходит вокруг набора плоских шкивов.Чтобы развивать скорость резания и поддерживать импульс без поломки, «6-футовая фреза», способная резать большие бревна, требует обширной конструкции с большими шкивами для поддержки 36-дюймового полотна шириной от 6 до 10 дюймов, необходимого для обнажения шести футов. проточной клинка. Этот тип установки был распространен в 18-м и 19-го века Водяные мельницы, где массивные деревянные балки механизма отвала поддержки натянутой между тремя историями из мельницы.
Если у вас есть деревья, поступающими на 2 1/2 Возможно, вы захотите проверить такую фрезу, и вам нужно будет найти коммерческого поставщика изделий из древесины для изготовления шкивов, полотен и ленточных пил.
Мне сказали, что сегодняшние портативные ленточные пилы довольно хорошо преодолевают двухфутовые бревна, если вы будете двигаться достаточно медленно. Они работают, пропуская ленточное полотно с замкнутым контуром шириной 6 футов или более между плоскими шкивами в раме, подвешенной между параллельными направляющими. Рабочее лезвие, рама и шкивы, силовая головка и все остальное протягиваются мимо неподвижного бревна, отрываясь от доски при каждом проходе.
В более обычном стационарном стане для циркулярной пилы тяжелое зубчатое полотно диаметром от 3 до 5 футов прикреплено болтами к одному концу тяжелой оправки, вала, вращающегося в шариковых или роликовых подшипниках, установленном на тяжелом основании.Маховик / ведущий шкив с лопастным грузом прикручен к другому концу вала, чтобы обеспечить баланс и импульс и удерживать плоский приводной ремень. Между ними прикреплены другие шкивы силового привода. Как и стационарная ленточная пила, она может работать от воды, большого электродвигателя, двигателя автомобиля или трактора. (Я использую старинный 4-цилиндровый тракторный двигатель JI Case, но я видел мельницы, приводимые в движение двигателями V-8 от автомобилей и большими старыми электродвигателями. На действительно больших установках используются дизели Cat.) Лопасть и маховик развиваются достаточно быстро. импульс, чтобы пролететь сквозь бревно с такой скоростью, с какой тележка может двигаться вперед-назад мимо лезвия.
Переносные дисковые пилы — это новая морщина, которую я видел в рекламе. Я никогда не видел его в действии, но я не могу представить, что любое лезвие, которое вы можете тащить за пикапом, может быть большим или достаточно тяжелым, чтобы развить импульс, чтобы вырезать доски из бревна серьезного размера за один проход и на любой скорости.
.
Сравнение конструкций лесопильных заводов
Основным преимуществом переносной ленточнопильной пилы является то, что она разработана для достаточно быстрой сборки и разборки, поэтому вы можете доставить ее на место работы в своем пикапе, установить и работать в тот же день.Кроме того, пропил тонкого лезвия узкий, поэтому вы экономите древесину. Он потребляет меньше газа, чем двигатель автотипа стационарной пилы, двигатель и подшипники служат примерно столько же (в среднем 2500 часов между ремонтами), но при восстановлении или замене стоит гораздо меньше (250 долларов снаружи по сравнению с 900 долларами и более).
Стоимость переносной мельницы составляет около 1500 долларов США для базовой мельницы, плюс дополнительные 500 долларов США для механического подъемного механизма для подъема бревен на платформу. Стационарная мельница со всеми компонентами, кроме нового двигателя, будет стоить 5000 или 6000 долларов, причем примерно половину от стоимости бывшего в употреблении, и вам все равно придется ее установить.Это сопоставимо с моей общей стоимостью менее 1000 долларов.
Портативная ленточная пила с тонким лезвием и небольшим двигателем не имеет большого веса и мощности, чтобы доставлять бревно. Таким образом, это мучительно, мучительно медленно по сравнению с циркулярной пилой, требуя минут, чтобы разрезать доску, которую старая циркулярная пила прорежет за секунды. Я также слышал, что рамы сделаны не из самых тяжелых известных материалов, что хорошо с точки зрения их портативности; но, если пила должна резать прямо, а не заедать, рама всегда должна быть квадратной, жесткой, ровной и вертикальной.И далеко не легко сохранить это таким образом, когда вы сбрасываете тяжелые бревна на основание, которое представляет собой небольшой прямоугольник из тонкого металлического уголка, который может прогибаться, наклоняться или погружаться в почву под странными углами.
Я знаю одного потенциального строителя дома, который потратил все свои свободные деньги на свой фундамент, колодец, септик, лесной джип, цепную пилу и переносную ленточную пилу, намереваясь вырезать свои собственные 2-бай и сайдингом, а летом в выходные поднять дом.
Он недооценил время и сложность обрезки, обрезки верхушек, обрезки, перетаскивания и секционирования каждого дерева.Не говоря уже о том, чтобы каждое бревно пройти через лес на мельницу, затем закрепить его на основании мельницы, сделать несколько проходов, чтобы выровнять как минимум две стороны, разделить бревно на 2-дюймовые плиты … затем разорвать каждую плиту на 4 «ширину, затем штабелирование плит и досок из коры … затем складирование опилок, чистка пилы, защита от дождя и, наконец, перетаскивание досок к фундаменту. Только после этого он приступил к работе над домом. В конце концов он решил, что легче вытащить равномерно сухие и идеально подходящие по размеру 2×4 из всепогодных упаковок, установленных вокруг фундамента грузовиком, оборудованным стрелой.Но к тому времени закончилось лето и его энтузиазм. Рама пилы ржавела еще два года, прежде чем он сдался и был продан.
Большой диск для циркулярной пилы потеряет лезвие, если заденет старую металлическую скобу забора, заросшую корой. Но полотно ленточной пилы может сломаться, точно так же, как оно может попасть в твердый узел, или если оно заедает, когда оно замедляется во влажной древесине, или если вы не отталкиваете доску от бревна в конце жесткого пропила. Полотна переносных ленточных пил изготовлены из очень твердой пружинной стали, которая будет описывать узкие дуги на шкивах, но это не подлежит ремонту.Его нельзя затачивать вручную, если у вас нет полдня на это, поэтому его необходимо заменить по цене от 20 долларов и выше. Огромные ленточные полотна, используемые на стационарных ленточнопильных станах, сделаны из достаточно мягкой стали, их можно сваривать и затачивать, что хорошо, так как они стоят более ста долларов за штуку.
Большой диск для циркулярной пилы прослужит вечно, но чтобы резать быстро и чисто, зубья необходимо часто и равномерно затачивать, а (на поперечных пилах) их угол атаки необходимо периодически менять.В отличие от полотен для ленточных пил, они редко ломаются, и это хорошо, так как они стоят сотни долларов.
Зубья с зубьями из закаленной стали, вставленные в корпус из мягкой стали, могут быть восстановлены. Но странствующие ремесленники, которые заделывали дыры в кастрюлях, измельчали материнские ножницы и ножи для резьбы, а также точили каждое лезвие пилы на месте, остались в прошлом. Вы должны научиться ухаживать за своим собственным клинком. Угол заточки для каждого типа лезвия и зуба разный, и небольшой ручной электродвигатель типа Dremel с заусенцами из карборунда сделает это намного быстрее, чем ручной напильник.
С другой стороны, вы больше не можете получить стационарные пилорамы или даже планы лесопильных заводов по почте от Sears Roebuck. Вам нужно будет спроектировать свой собственный, найти или собрать компоненты, а затем собрать их на месте. Двигатель, столярные изделия и гусеница требуют прочного закрепления станины с крышей и некоторой боковой защиты от проливного дождя. Тем не менее, я выбрал стационарную циркулярную пилу, потому что она лучше соответствует моим потребностям при более низких начальных затратах и меньших эксплуатационных расходах, чем переносная ленточная пилорама.
Части мельницы
На мой взгляд, круглопильный станок состоит из четырех основных компонентов:
1. Гусеница как минимум в два раза длиннее самого длинного бревна, которое вы хотите распилить.
2. Каретка на рельсах, снабженная передними стойками, которые удерживают бревна при их движении вперед и назад мимо пилы.
3. Прочно закрепленная рама из лузги, которая удерживает жестко установленные пилу и оправку, а также направляющую пилы рядом с двигателем и в средней точке гусеницы.
4. Источник питания, способный поворачивать пильное полотно под нагрузкой и имеющий дополнительную мощность, достаточную для перемещения каретки и вдавливания бревна в полотно.
Вариант, позволяющий сократить трудозатраты для небольшого лесопильного завода, но необходимый для крупносерийного промышленного предприятия, — это гидравлическая или механическая система для управления флипперами или цепями с крюками, которые вращают окорку пиловочника и обтачивают его на четверть оборота перед каждой первой резкой.
, чтобы выровнять бревно прямоугольной формы в каретке перед каждым проходом, переворачивать плиты в бункер для связывания и продвигать готовые доски по роликовым желобам к месту укладки.Я не особо тороплюсь, и это работа, которую я выполняю с помощью своего самодельного лесозаготовительного трактора и моего peavey — большого крюка на рукоятке, используемого для подъема бревен.
Есть несколько способов получить необходимые компоненты, и каждый лесоруб должен решить, какой из них лучше всего соответствует его способностям и возможностям. Один из способов — купить б / у мельницу в разумных пределах, требующую лишь мелкого ремонта. Вы будете удивлены, сколько маленьких одно- или двухместных мельниц разбросано по лесам в любом хорошо заросшем лесом уголке страны.В моем районе они стоят около 3000 долларов — покупаются «как есть / где есть», что означает, что вам придется снести мельницу, переместить и собрать ее на своей земле. Другой способ — спроектировать и построить новую мельницу с нуля. Это требует времени и доступа к оборудованию механического цеха, но относительно небольших денежных затрат, если используется утилизированное сырье. Вы можете купить подержанный, но исправный промышленный четырехцилиндровый двигатель или автомобильный двигатель и трансмиссию всего за 100 долларов, а также подержанное лезвие за то же самое. Вал, подшипники, шкивы и барабаны для оправки, которая удерживает лезвие, и сталь, из которой передняя бабка удерживает бревна, а также различные фитинги, колеса, пиломатериалы и рельсовый инвентарь будут стоить, возможно, еще 250 долларов, что приведет к снижению общей стоимости 500 долларов.Наконец, вы можете пойти по пути, который я выбрал, то есть покупать основные необходимые детали лесопильного завода в готовом виде для ремонта или модификации и импровизировать остальные. Моя общая стоимость была чуть меньше 1000 долларов.
Трек
Я начал с того, что построил гусеницу, по которой катится карета, из заброшенной рамы мобильного дома длиной 42 фута и колес, которые я купил за 100 долларов.
Я удалил косынки, которые удерживали коробку с основных двутавров. Затем я сузил раму с ширины 108 дюймов до 32 дюймов, вырезав 76 дюймов из центра поперечных распорок, сдвинув двутавровые балки ближе друг к другу, а затем снова сварив распорки.Я также сузил ось и прикрепил ее к нижней части рамы, а затем снова прикрепил язычок прицепа к одному концу. Это дало мне портативную раму длиной 42 фута.
Я сделал гладкую и устойчивую направляющую для каретки, приварив стальную плоскую ленту размером 2 x 1/2 дюйма поверх обеих двутавровых балок. Затем я приварил круглый стальной стержень 5/8 дюйма поверх плоской планки, которая перекрывала двутавровую балку, которая должна была быть ближе всего к лопасти. Круглый стержень входит в канавку между фланцами на передних колесах каретки, удерживая каретку на пути .
Двигатель CaseA ’46, комплектующие, передние бабки и корма
В рыночном бюллетене государственного фермера я обнаружил партию утилизированных компонентов лесопилки — некоторые из них старше меня. Я заплатил 800 долларов за газовый двигатель JI Case 1946 года с ручным пуском мощностью 60 л.с. с ручным сцеплением, работающим как новенькое, пильное полотно диаметром 42 дюйма со вставленными зубьями из закаленной стали, оправку, тяжелый вал, на котором держится пильный диск на одном конце и большой шкив / маховик на другом, детали для подающего механизма — батарея шестерен или шкивов, которые передают мощность от двигателя к каретке — плюс три передних бабки, которые удерживают бревна на каретке и наборе. работы, которые продвигают бревна вперед для распиловки.Каждая передняя бабка состоит из тяжелой стальной основы, которая крепится к верхней части каретки. Колени скользят вперед и назад в канале в верхней части основания, на которых держатся собаки с шипами, которые вбиты в заднюю часть бревна, чтобы удерживать его на месте для распиливания. Позади передних бабок находится набор механизмов: расположение шестерен и валов с рычагом, который с небольшими приращениями храпового механизма толкает колени вперед и переносит бревно на лезвие для резки.
Из древесины, подвергнутой обработке давлением, я построил 20-дюймовую каретку в форме лестницы, сделав длинные боковые поручни из сдвоенных 2-х 6-дюймовых PT-ложей, соединенных спереди и сзади, а каждые четыре фута с деревянными двутавровыми перекладинами. «x 6» PT.
Каретка движется на трех парах стальных колес на осях со стальными стержнями — пара спереди и сзади, а другая посередине. Три колеса на задней длинной стороне рамы плоские; три впереди, ближайшие к пиле, представляют собой усиленные шкивы с канавками с канавкой 7/8 дюйма вокруг, которые подходят к круглому стальному стержню, приваренному к гусенице, чтобы обеспечить правильное движение каретки.
Я мог бы найти шарикоподшипники и опорные подушки, подходящие для трех осей каретки и нескольких других валов, которые мне пришлось собрать.Но я решил сделать это по старинке с подшипниками из баббита, которые использовались на ранних автомобилях. Бэббит — это мягкий свинцовый металлический горшок, который можно легко расплавить и залить в корпус, построенный вокруг вала, чтобы создать специальный литой подшипник скольжения для вращения вала. Обычно вал покрывается грязью в зоне подшипника при медленном вращении. над дымным (грязным) огнем. Я использовал старый латунный керосиновый фонарь с загнутым фитилем и без дымохода. Жирный технический углерод из дыма проникает между металлическим баббитом и вращающимся валом и стирает ровно такой зазор, чтобы вал мог свободно вращаться и предотвращать прилипание металлического баббита к валу (пока он остается смазанным; если это не так , подшипник может нагреться и оплавиться).
Рама из лузги и комбикормовые заводы
Затем я сделал раму из лузги рядом с гусеницей, чтобы удерживать оправку — вал и опоры, удерживающие лезвие и приводное колесо от двигателя, а также подающие устройства — механизм ремня / шкива, который приводит в действие каретку — и направляющую пилы. что удерживает лезвие в бревне под желаемым небольшим углом.
Я сделал раму лузги из использованных деревянных балок 4 «x 10», так как она должна быть достаточно большой, чтобы выдерживать силу и вибрацию от вращающейся пилы, а также натяжение приводных ремней от двигателя.
Подача соединяет ленту от двигателя с барабаном, расположенным в середине пути, вокруг которого находятся несколько витков бесконечного троса, который пересекает каретку вперед и назад по рельсовому пути. С помощью одного рычага пильный мастер может продвинуть загруженную каретку в полотно, а затем потянуть ее назад, чтобы приспособиться к другому пропилу или загрузить новое бревно. Я видел это разными способами.
Я выбрал систему из плоских ремней и шкивов, использующих промежуточную шестерню, потому что она проста, и у меня был доступ к шкивам с плоскими ремнями с канавками шириной 6 и 12 дюймов, которые обеспечивают достаточный контакт ремня для обеспечения достаточной движущей силы без чрезмерного напряжения.В этом нет ничего особенного, кроме старого здравого смысла и изобретательности. Я дергаю за ручку, и рычаг управления шкивом натягивает передний ремень против силы, и каретка медленно продвигается. Когда я нажимаю на ручку, управляющий шкив на переднем ремне ослабляется ровно настолько, чтобы позволить ему проскальзывать, в то же время натягивая реверсивный ремень против силы, и каретка застегивает молнию. Разница в скорости обусловлена размером шкива; реверсивный шкив в три раза больше диаметра переднего шкива.Когда я отпускаю, пара пружин для дверных решеток под платформой возвращает ручку в нейтральное положение.
Наконец, я установил направляющую пилы — своего рода «C» зажим, который охватывает вращающиеся зубья и сжимает корпус лезвия, удерживая его в бревне под нужным небольшим углом. Направляющая предназначена не для изменения угла пилы (это делают регулировки оправки), а поддерживает переднюю кромку полотна. Я расположил его так, чтобы он выступал из передней части рамы шелухи вверх на переднем крае пильного полотна как можно ближе к каретке, не касаясь.
Рабочие поверхности направляющей в местах соприкосновения с лезвием должны быть сменными деревянными блоками, оставляющими зазор примерно 1/64 дюйма от каждой стороны лезвия.
Сборка мельницы
После создания четырех основных компонентов пришло время установить их на место и выровнять все по линии, отвесить, выровнять и отрегулировать так, чтобы распиливать хороший прямой пиломатериал. Некоторые корректировки были не столь очевидны. Мне пришлось изучить методом проб и ошибок такие вещи, как регулировка шага пилы и направляющей.
Первым делом я проложил 42 ‘гусеницу.Используя шнур и линейный уровень, я установил рельсовое полотно из переработанных, но все еще прочных, устойчивых к гниению железнодорожных шпал, расположив их на расстоянии около 8 футов друг от друга. Еще две стяжки были утоплены в сторону посередине, чтобы удерживать раму из шелухи. Добавив еще две шпалы немного левее рамы лузги для поддержки двигателя, я получил базовый фундамент. Я мог бы хорошо закопать шпалы и иметь прочную основу, потому что здесь, в Джорджии, у нас стабильная почва и мало или совсем нет мороза. В пустыне или на песчаном пляже, в зыбучих почвах на западе и на морозном севере вы должны быть уверены, что фундамент вашей мельницы вырыт достаточно глубоко, чтобы он не соскользнул с холма после сильного дождя или мороза и не вылезет из истинного состояния каждую зиму. .
Я натянул раму / гусеницу прицепа на основание поперечины, приподнял ее, чтобы снять опорные колеса, затем опустил, выровнял и выпрямил ее с помощью веревки и ровной линии и, наконец, прочно закрепил все в нашей хорошей красной глине Джорджии. В верхней части пути я сделал простую стойку для загрузки бревен на столбах, чтобы я мог катить бревна прямо с грузовика на бревенчатую балку. Внизу под пилой я построил длинную платформу высотой с каретку с выступом вдоль открытого края, чтобы ловить доски, когда они сходят с пилы.
Я установил каретку на колеса посередине гусеницы и установил три передних стойки сверху, а регулирующий механизм (набор) — вдоль задней части.
Затем я поместил раму из лузги на поперечины и закрепил ее ровно и правильно сориентировал по рельсовому пути. Я окончательно закрепил оправку пилы и механизмы подачи в раме лузги и тщательно отрегулировал все так, чтобы пила и каретка целовали кузена близко, но не настолько близко, чтобы когда-либо касаться … расположили спереди назад, чтобы бревно Сторона пильного полотна должна быть на 1/2 дюйма от каретки и регулироваться по направлению сверху вниз, так что верхняя часть воротника пилы будет на хорошие 1/2 дюйма ниже кромки бревна передней бабки.
Затем я подключил трос, который будет проходить через каретку и пиловочник взад и вперед. Вал привода каретки проходит от шкива с приводом от двигателя в подающем устройстве через втулку из баббита в отверстии, которое я прорезал в двутавровой балке на стороне пилы, к катушке привода троса в середине пути. Конец вала, выступающий за ведущую катушку, входит в шейку, приваренную к внутренней стороне внешней двутавровой балки. Я несколько раз обернул центр поперечного троса вокруг катушки привода троса, пропустил концы троса через шкивы на каждом конце гусеницы и потянул их назад, чтобы плотно прикрепить к концам каретки.В какую бы сторону ни повернулась катушка, каретка будет следовать за ней.
Вернувшись на подающий завод, я измерил, отрезал и соединил ремни прямой и обратной подачи каретки. Затем я отрегулировал встречные возвратные пружины и тягу, ведущую к рычагу управления, так, чтобы ни передний, ни задний ремень не были натянуты на силовой шкив, когда рычаг отпущен и находится в нейтральном положении.
Затем я установил полотно пилы на рабочий конец оправки и с помощью отвеса и лески отрегулировал оправку на креплениях так, чтобы поверхность полотна была идеально вертикальной и параллельной движению каретки.Затем, отрегулировав болты на каждой стороне передних подшипников оправки, я установил шаг так, чтобы лезвие входило в встречное бревно на 1/32 дюйма, и отрегулировал направляющую пилы для сохранения этого шага (со слишком маленьким шагом).
свинца, пила не будет кусаться, а выскочит и протерет лицевую часть бревна. При слишком большом количестве свинца лезвие будет врезаться, заедать, тереться или застревать в пропиле. Если вы продолжите резать пилой в Таким образом, вы можете нагреть лезвие до такой степени, что оно деформируется. Старые пильщики вытащили застрявшее бревно и, медленно вращая лезвие, использовали старую швабру и воду, чтобы быстро охладить горячую область на лезвии, чтобы повторно закалить и избежать перманентная основа или сетка.Я думаю, что лучше вообще избежать проблемы и действовать медленно.)
Я закрепил двигатель на поперечинах, провел трос дроссельной заслонки и выключатель аварийной остановки к небольшой приборной панели на платформе оператора, которую я построил там, где рычаг управления выступал из подающего механизма в раме лузги. Затем я соединил шкив главного привода двигателя с большим ведущим колесом на валу пилы с помощью 6-дюймового плоского ремня. Я проверял, перепроверял, затягивал и снова затягивал, пока, наконец, не пришло время опробовать это изобретение.
Давайте сделаем это!
Хорошо. Еще раз проверьте, что все готово к работе. Убедитесь, что лезвие чистое, и поблизости нет обломков дерева или камней, которые могли бы вибрировать в него. Убедитесь, что сцепление брошено. Затем запустите двигатель и дайте ему хорошо прогреться. Установите скорость немного выше холостого хода и включите сцепление. Остановите и отрегулируйте оправку или втулку, если лезвие качается или вибрирует. Убедитесь, что ремень главного привода остается в центре обоих главных шкивов.
Убедитесь, что бревенчатые собачки и колени головной части находятся на значительном удалении от лезвия и хорошо пригнаны.Затем перемещайте каретку вперед и назад. Все должно работать гладко; шкивы должны двигаться правильно, а ремни должны двигаться прямо, не натирая внутренние части их шкивов.
Когда все будет хорошо, разгоните двигатель до тех пор, пока пильный диск не начнет вращаться с рабочей скоростью от 400 до 500 об / мин (пока вы не научитесь определять скорость на слух и эффективность резки, вы можете установить датчик частоты вращения, если у двигателя его нет.
Или нанесите метку на лезвие и отрегулируйте скорость так, чтобы метка мигала более восьми раз в секунду.Вы знаете, сколько секунды нужно, чтобы сказать «тысяча»? Что ж, считая так быстро, как вы можете, сократите количество от одного до восьми за тот же короткий промежуток времени. Увеличивайте скорость, пока лезвие не будет вращаться восемь раз в секунду.) Дайте двигателю поработать пару минут. Затем выключите и проверьте все вокруг. Особенно убедитесь, что оправка остыла. Если подшипники теплые на ощупь, значит, они застряли, и вам необходимо отрегулировать, смазать маслом, ослабить крышки журналов или опорные блоки или сделать что-то еще, что необходимо для устранения проблемы.Затем бегите 10-15 минут и снова проверьте.
Теперь пришло время распилить первое бревно. Переместите каретку обратно к погрузочной платформе и загрузите небольшое бревно диаметром от 7 до 9 дюймов. Зацепите бревно за переднюю бабку и переместите каретку к лезвию. Включив храповой механизм, продвиньте бревно вверх так, чтобы оно просто целовало заднюю часть лезвия. Поднимите каретку и поверните бревно вперед примерно на 1/2 дюйма. Включите двигатель до рабочей скорости и медленно перемещайте каретку, чтобы сделать первый распил.Внимательно следите за тем, чтобы разрез был прямым. Если все в порядке, отведите каретку назад, продвиньте бревно на дюйм и снимите еще одну плиту. Как только у вас получится ровная поверхность вдоль всей распиленной поверхности бревна, оттяните бревно и поверните его так, чтобы плоскость была внизу. Соберите собаку и отрежьте следующую сторону. Продолжайте вращать и резать, пока не получите желаемое квадратное бревно. Теперь вы можете вырезать из бревна пиломатериал любого размера. Вы занимаетесь лесопильным бизнесом.
Разветвитель
Во времена водяных мельниц большую продольную пилу, которая распиливала целые бревна, называли головной пилой, а главного пилорама называли раскалывающим станком, потому что именно это он пытался сделать — разрезать каждое бревно так, чтобы все доски выходили с зерно, идущее прямо по длине от конца до конца — так же, как если бы он разделил его на рельсы забора, разделив их вдоль естественного волокна молотком и клиньями.
Разделение каждого бревна на части, чтобы получить наиболее пригодную к употреблению древесину, и укладывание бревен на балку — вот где разделитель отделен от обычных смертных. Не то чтобы я пока что претендую на то, чтобы быть полностью законченным сплиттером, хотя я работаю над этим. Видите ли, цель пилорама — получить как можно больше дощатых футов прямозернистой древесины из каждого бревна. Но никакое дерево не облегчает задачу, поскольку ни одно из них не является идеально прямым. Все бревна, даже самые прямые сосны, имеют изгибы. Многие изгибаются в двух измерениях, спереди назад и справа налево.Более чем у некоторых есть двойные обратные кривые, скручивания, трещины, узлы, отверстия от узлов, гнилые узловые отверстия и действительно гнилые отверстия на конечностях, которые необходимо вырезать или подпилить.
Пиломатериалы для коммерческих зданий имеют минимальную длину 8 футов, что больше, чем вы можете получить за один кусок из множества бревен. Размер увеличивается с шагом 2 фута (длина) и 2 фута (ширина), что создает много отходов. Но с помощью своей собственной мельницы вы можете спасти бревно, которое имеет, скажем, два отрезка прямого волокна длиной 3 1/2 дюйма между большим узлом, гнилым отверстием на ветке и расколотым верхом, а затем устранить отходы, выпилив их по индивидуальному заказу. до нечетных размеров, чтобы соответствовать вашему конкретному использованию.С помощью цепной пилы вы можете разрезать 3 1/2 ‘- «шорты», а затем распилить их тонкими, чтобы получить ту 41-дюймовую обшивку в деревенском стиле, которая идет на кухню, или на стойки 5 x 5 дюймов, чтобы пройти по бетонным опорам. для опор крыльца или квадратов 17 дюймов x 17 дюймов x 7 дюймов, чтобы обрамлять песочницу детей. Вы можете отложить этот большой узел для сушки на воздухе и использовать его твердый, волнистый кап в качестве основы для стола со стеклянной столешницей или разрезать и украсить его для настенных ковров. Оттащите прогнивший кусок ствола обратно в лес, когда в следующий раз вы отправитесь за новыми бревнами, и он будет перезимовать скунсов или укрыть семейства кроликов на долгие годы.
С вашей собственной мельницей ничего не пропадает зря.
Ориентация бревен на тележке требует ощущения зерна … способности «шестого чувства» заглядывать внутрь бревна, чтобы угадать, как движется зерно, и эта способность приходит только с опытом и внимательным изучением своих ошибок. Пиломатериалы для обрамления хвойных пород полностью распилываются вдоль волокон. Вы хотите разместить бревно так, чтобы его основная кривая изгибалась вверх и вниз. Таким образом, бревно будет опираться на балку пальцами рук и ног, а кривая будет иметь вертикальное направление вдоль бревна.(Когда зерно проходит по длине доски, вы вносите слабость.)
Распиловка древесины твердых пород. Вы захотите сделать пропил в четверть волокна и другие пропилы, каждый из которых лучше всего подходит для различных областей применения. Прочтите хорошую книгу по столярному делу, чтобы узнать, в чем разница и почему.
Уловки Сойерса
Познакомившись с вашей мельницей, вы узнаете маленькие уловки, которые сделают ее работу плавной и точной. Вот несколько советов, которые работают для меня и могут избавить вас от головной боли.
- Держите зубья пилы острыми, так как тупые зубы могут заставить пилу сесть, блуждать и делать другие странные вещи.
- При заточке режущей кромки зубьев пилы всегда держите напильник перпендикулярно поверхности полотна.
- Внимательно осмотрите нижние 6 футов бревен и удалите закопанные в них гвозди или заборную проволоку; выбросьте бревно, а не тупите лезвие о старую скобу забора.
- Промойте бревна со всех сторон, как только они выйдут из леса и до того, как грязь высохнет на коре.Грязь притупляет лезвия.
- Держите поводок правильно и следите за лезвием на предмет кружков сгоревшего сока или других следов трения.
- Прислушайтесь к углубляющемуся звуку пилы, который может означать, что лезвие горит или застревает. Замедлите движение каретки, пока звук не станет снова слышен.

- Постройте рампу для захвата рядом с гусеницей, чтобы укладывать недавно распиленные доски, и установите на ее конце рампу с роликами, чтобы перемещать их к сушильным штабелям.
- Часто проверяйте трос и ремни на предмет правильного натяжения.
- Держите движущиеся части смазанными, а ремни заправляйте каменноугольной смолой или другим консервантом для сохранения гибкости.
- И НИКОГДА НЕ ЗАБЫВАЙТЕ: БЕЗОПАСНОСТЬ В первую очередь!
Как я уже упоминал в начале, я не являюсь экспертом и хотел бы получить информацию о строительстве или эксплуатации лесопильного завода от тех, кто попробовал свои силы.
Лексикон Сойера: определения терминов дровоколов
оправка — Вал, удерживаемый подшипниками, к которому прикреплена дисковая пила.
Баббитовый подшипник — подшипник скольжения, залитый вокруг оси или вала вместо использования баббитовый металл, мягкий, похожий на свинец металлический горшок, плавящийся при низкой температуре.
Балка (балка) — Колесная тележка, которая переносит пиловочник мимо пилы.
Подшипник — Смазываемая втулка или набор роликов или сфер, которые удерживает вал, позволяя ему вращаться с минимальным трением.
Комбикормовый — Группа шестерен или тяг и ремней, которые активируют храповик колесо или катушка и трос, который перемещает бревно к пиле и обратно.
Журнал — Корпус, в котором находится подшипник.
Передние бабки — Две или более опоры для бревен, покоящиеся на бревне. Детали включают:
1. Основание: фиксированная отливка с каналом, удерживающим скользящие колени.
2. Колени: скользящие, L-образные отливки удерживаются в каналах на верхней части основания передней бабки, которые удерживают бревно и перемещают его вперед в пилу.
3. Собаки (бревенчатые собаки): шипы в верхней части колен, которые втыкаются в заднюю часть бревна, чтобы удерживать его на месте для резки.
4. Наладочные работы: механизм, который продвигает колени, проталкивая пиловочник в передние бабки, чтобы определить глубину пропила.
Рама из шелухи — Низкое кольцо из жерновов или платформа из деревянных балок, поддерживающая раму большой циркулярной пилы.
Оправка — Вал, шейки и подшипники, на которых установлена пила, при лесозаготовке.
Опоры подушек — Пара отливок, удерживающих подшипник на месте.
Загрязнение — Нанесение угля из малого пламени для снижения рабочего допуска между валом и подшипником из литого баббита.
Траверса — для перемещения вперед и назад, когда бревенчатая балка многократно проходит мимо фрезерной пилы.
Несколько слов о безопасности
- Запрещается использовать работающую пилу для маленьких детей.
- Постройте прочные кожухи и ограждения движущихся ремней и шкивов.
- Носите ботинки с нескользящей подошвой, занимайте твердую стойку и сохраняйте равновесие на мельнице.
- Не приближайтесь ко всем компонентам во время их движения.
- Не позволяйте никому стоять рядом с пильным полотном.
- Никогда не пытайтесь удалить куски дерева, заклинившие движущееся полотно пилы.
- Всегда останавливайте полотно перед регулировкой.
- Надевайте защитные очки и средства защиты слуха.
- Помните, что с лесопилкой, как с любым другим оборудованием, нужно работать осторожно и осторожно.
Первоначально опубликовано: июнь / июль 1994 г.
|
Лесопилка Из 12-дюймовой ленточной пилы и косилки: 10 шагов (с изображениями)
Хорошо, у меня есть люлька, которая катится, пила лежит набок…. теперь я должен соединить их и начать рассчитывать высоту хода, установку всего … Я начал с картонных коробок и досок для молока, чтобы выровнять пилу, затем я закрепил двигатель на месте, чтобы спланировать зазоры приводного ремня и домкрата.
******* Вы должны убедиться, что ваша пила всегда выровнена во время сборки ОБОИМ СПОСОБОМ (из стороны в сторону, вперед и назад), иначе вам придется как-то отрегулировать ее позже. Если это не так, ваше лезвие будет либо вылезать из вашего разреза (вверх), либо вниз, поэтому у вас никогда не будет настоящей доски.
Легче сейчас, чем пытаться изменить его позже. Да, вы можете выровнять домкраты, но затем вниз или вверх они не будут совпадать, поэтому это повлияет на длину хода.
Я использовал толстостенную трубу для крепления передних и задних домкратов, убедившись, что есть место для цепи и зубчатого колеса.
Теперь, когда домкраты на месте, мне нужно прикрепить цепной привод между ними, чтобы поднимать и опускать узел. Я изо всех сил стараюсь собрать всю машину для долговечности … поэтому я купил цепь № 40 в Tractor Supply и шестерни, ступицы зубчатых колес слишком тяжелые, но они должны прослужить долго.Я купил цепь оптом, два 10-футовых рулона, и купил цепной прерыватель, чтобы упростить их размер. Я использовал главные звенья, чтобы соединить концы, отрезанные по длине для каждой секции. Я снял ручки с домкратов, где и подойдут ступицы. Я надел шестерню приводного домкрата, а на трех других сдвинул две на расстоянии, чтобы цепи могли очистить. Затем я приварил шестерни к ступицам и надел домкраты. Они удерживаются установочными винтами. После того, как все они были на месте, я приварил узел ручки к верхней части домкрата.После первого поворота я понял, что рукоятка либо слишком короткая, либо слишком жесткая, поэтому я разрезал рулевой вал косилки и снял ручку, заменив ее рулевым колесом. Какая разница и в очередной раз использовали еще одну деталь от косилки! Я также использовал старую скобу для крепления мешков от газонокосилки для нашей ручки-толкателя.
Примечание !!!!! Цепи проще собрать перед установкой домкратов, так как если вы на 1/4 дюйма, цепь может быть слишком ослаблена или настолько натянута, что вы не сможете повернуть ручку. ОООпс! К счастью, я смог срезать прихватки и немного отрегулировать домкрат, чтобы натянуть цепь.Поскольку на цепи очень мало напряжения, растяжение не должно быть проблемой, если это так, я могу отрегулировать, вытащив половину звена.
Обратите внимание на одну картинку с черточкой, одну с танком … насмехаясь над ним снова и снова .
.. или это издевается надо мной?
У меня все еще есть элементы управления и многое другое, что нужно добавить … Двигатель установлен выхлопной трубой назад, в середине пилы, поэтому я поставлю топливный бак как можно дальше за борт. Я поставлю аккумулятор рядом с ним так, чтобы панель управления находилась посередине, чтобы я мог использовать существующие жгуты проводов и тросы управления для дроссельной заслонки и сцепления.Я даже собираюсь использовать кожух косилки для звукоизоляции, и это тоже будет круто смотреться. Я сделал крепление для топливного бака из металлического уголка рамы станины и использовал поддон аккумуляторной батареи косилки, просто добавив кусок коробчатой трубы, чтобы приварить его к раме пилы. Для удобства оператора и безопасности я добавил кусок трубопровода диаметром 3/4 дюйма для удлинения выхлопа, отводящего вниз и в сторону от зоны управления.
5 Планы ленточнопильного станка своими руками, которые вы можете построить сегодня
Научиться строить ленточнопильный завод может оказаться непростым делом.Планы, представленные в приведенном ниже руководстве, предназначены для упрощения процесса. Здесь вы найдете варианты на любой бюджет и любой уровень квалификации. Кстати, есть планы и для людей с большими дворами, и для людей, которые стараются сэкономить драгоценное пространство.
Читайте бесплатные планы ленточнопильных заводов, которые вы можете сделать сами!
1. Лесопилка на заднем дворе из Makezine
Этот первый план позволит вам построить большую лесопилку на заднем дворе по доступной цене. Дизайн сделан в Makezine, и его можно собрать по относительно низкой цене.Это также просто, используя три основных компонента: перила, крепление и саму пилу.
Хотя экономия денег — главное преимущество такой конструкции, покупайте только качественные материалы. Неисправная лесопилка очень небезопасна, и ее следует избегать любой ценой.
2. Лесопильный завод премиум-класса: от MotherEarthNews
Этот дизайн от MotherEarthNews немного сложнее и дороже, но он прослужит бесконечно долго, как только вы его запустите.
При вложении 1000 долларов и приличном отрезке времени вы можете получить пилораму на заднем дворе, которая эффективно работает в течение долгого времени.
Несмотря на то, что он дорогой по сравнению с нашим первым выбором, он все же намного доступнее, чем промышленная мельница, так что успокойтесь!
3. Чрезвычайно прочная лесопилка: от WoodWeb
Компания WoodWeb предлагает идеальное оборудование для людей, которые рассчитывают на тяжелые условия эксплуатации. Стальная рама чрезвычайно прочна, а бортовые колеса и гидравлическая система служат для того, чтобы сделать систему максимально простой в использовании.
Это дорогой дизайн, но если вы рассчитываете на частое использование, на самом деле не обойтись без значительного ценника.
Разработан для тяжелых условий эксплуатации
4. Шансы и конец: от WoodWeb
Здесь у нас есть еще один вариант от WoodWeb. В этой конструкции используются мелкие детали для импровизированной пилорамы, которую вы сможете собрать по дешевке. Минус этого процесса — все неопределенности. Хотя переработка материалов обычно является положительным моментом, в этом случае она вносит множество факторов в процесс, поэтому подходите к этому с осторожностью.Если вы не уверены в качестве материала, его не следует использовать.
Требуется творческий подход!
5. Профессиональный вариант DIY от Wilkerdos
Мы закрываем список планом Вилкердоса. Этот лесопильный завод отличается тем, что он имеет такую же производительность, как и у профессиональных лесопильных заводов. Поймите, конечно, что этот фактор также делает его сборку значительно дороже, чем любой из других вариантов в нашем списке. Хотя многие другие можно собрать за несколько сотен долларов, этот стоит десятки тысяч.
, однако, в конечном итоге он будет стоить меньше, чем обычно платят профессиональные пилорамы, так что в этом отношении у вас есть возможность сэкономить деньги, если ваши потребности более продвинуты.
Заключение
Как вы, наверное, догадались, научиться строить ленточнопильный завод подойдет не всем. Речь идет о сверхмощном оборудовании промышленного класса. К таким вещам нельзя относиться легкомысленно.
В то время как каждый плотник хотел бы заготавливать свои собственные доски, некоторым может быть лучше отправиться на лесной склад.Конструкции из нашего списка помогут создать безопасное и эффективное оборудование. Внимательно следуйте инструкциям, чтобы насладиться высококачественной лесопилкой, которая выведет вашу игру в деревообработку на новый уровень!
Изображение предоставлено: Сантери Виинамяки, Wikimedia Commons
Превосходный самодельный ленточнопильный лесопильный завод для широкого применения
Инвестиции в выдающееся. Самодельный ленточнопильный станок планирует на Alibaba.com значительно повышает производительность резки, изменения формы и обработки древесины и других материалов, таких как металлы.Они делают эти процессы и экономят время, что жизненно важно для любого бизнеса или личной эффективности. Эти наивысшие оценки созданы для того, чтобы заботиться о разных покупателях с разными потребностями резки и обработки. Самодельные чертежи ленточнопильных станков доступны в чрезвычайно богатом ассортименте, который включает уникальные изделия, подходящие для различных областей применения.
Для максимального удобства пользователей и обслуживания эти. Самодельные чертежи ленточнопильного станка изготовлены из невероятно прочных материалов, соединенных вместе с помощью креативного дизайна.Это делает их очень прочными, обеспечивая при этом отличные характеристики. Поскольку они включают в себя передовые технологические изобретения, они превосходно энергоэффективны. Они потребляют умеренно меньшее количество электроэнергии по сравнению с другими машинами, предназначенными для той же цели. Таким образом, они позволяют своим пользователям экономить значительные суммы денег на счетах за электроэнергию.


.jpg)




..
Вам нужно недорогое решение, чтобы лесопилка
можно сидеть неделю или две без работы, пока вы используете
пиломатериалы, которые вы произвели.
Вы сами строите целую мельницу
— начать заканчивать. Ориентировочное время постройки 70 часов.
для новичка или 40 часов для кого-то с минимумом сварки
навыки и умения. Рекорд на данный момент составляет 18,5 часов.